Запчасти Komatsu PC1600SP-1 УПРАВЛ-Е СТОЙКА¤ ЛЕВ.(№-7) КАБИНА ОПЕРАТОРА И СИСТЕМА УПРАВЛЕНИЯ

Схема запчастей Komatsu PC1600SP-1 - УПРАВЛ-Е СТОЙКА¤ ЛЕВ.(№-7) КАБИНА ОПЕРАТОРА И СИСТЕМА УПРАВЛЕНИЯ
FIT
1:1
100%

Артикул

Название

Примечание

Количество

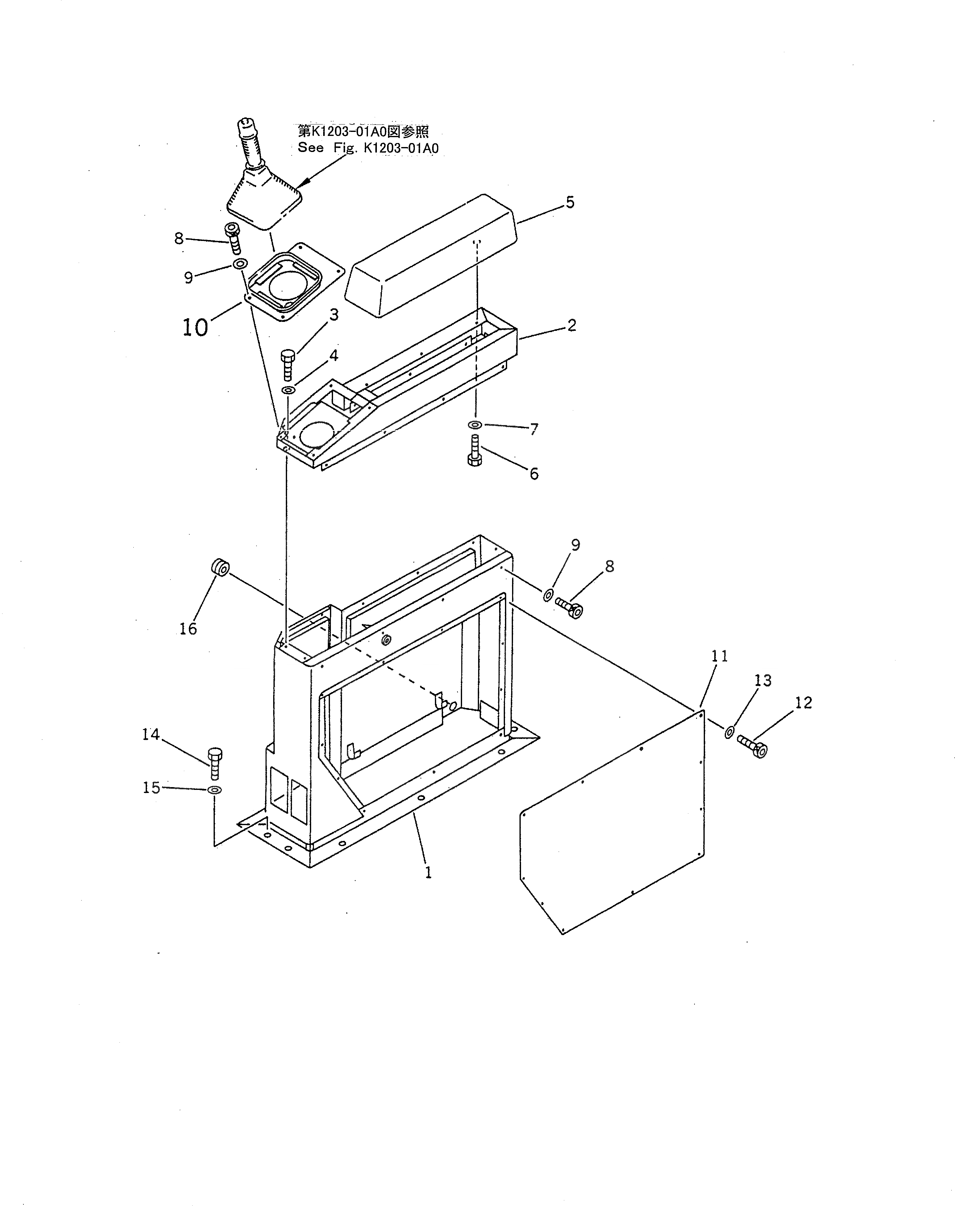
1

21T-43-71112

BOX,L.H.

2

21T-43-71131

COVER,L.H.

3

01010-50820

BOLT

4

01643-30823

WASHER

5

21T-43-71151

CUSHION,L.H.

6

01010-50820

BOLT

7

01643-30823

WASHER

8

195-Z11-1720

SCREW

9

205-43-73420

WASHER

10

21T-43-71960

COVER,L.H.

11

21T-43-71361

COVER,L.H.

12

195-Z11-1720

SCREW

13

205-43-73420

WASHER

14

01010-51225

BOLT

15

01643-31232

WASHER

16

205-54-76230

GROMMET

Выбрано товаров: 16