Запчасти Komatsu PC1600SP-1 ПОВОРОТН. КРУГ ПОВОРОТН. КРУГ И КОМПОНЕНТЫ

Схема запчастей Komatsu PC1600SP-1 - ПОВОРОТН. КРУГ ПОВОРОТН. КРУГ И КОМПОНЕНТЫ
FIT
1:1
100%

Артикул

Название

Примечание

Количество

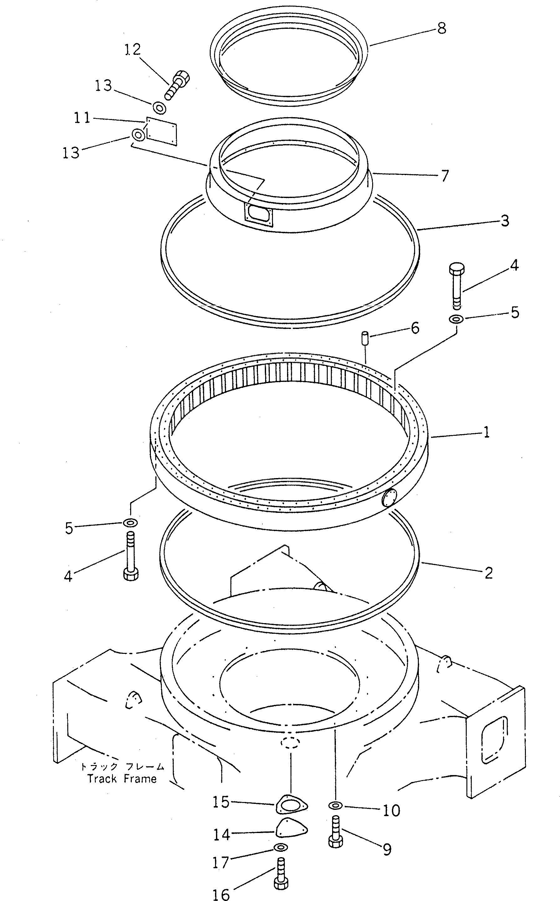
1

21T-25-71111

CIRCLE,SWING

2

21T-25-71120

SEAL

3

21T-25-71130

SEAL

4

21T-09-71110

BOLT

5

01643-33690

WASHER

6

205-27-51370

PIN

7

21T-25-71150

BRACKET

8

21T-25-71160

SEAL

9

01010-81255

BOLT

|9

01010-51255

BOLT

10

01643-31232

WASHER

11

21T-25-11151

COVER

12

01010-81225

BOLT

13

01643-31232

WASHER

14

208-30-11850

COVER

15

208-30-11861

GASKET

16

01010-81225

BOLT

|16

01010-51225

BOLT

17

01643-31232

WASHER

Выбрано товаров: 19