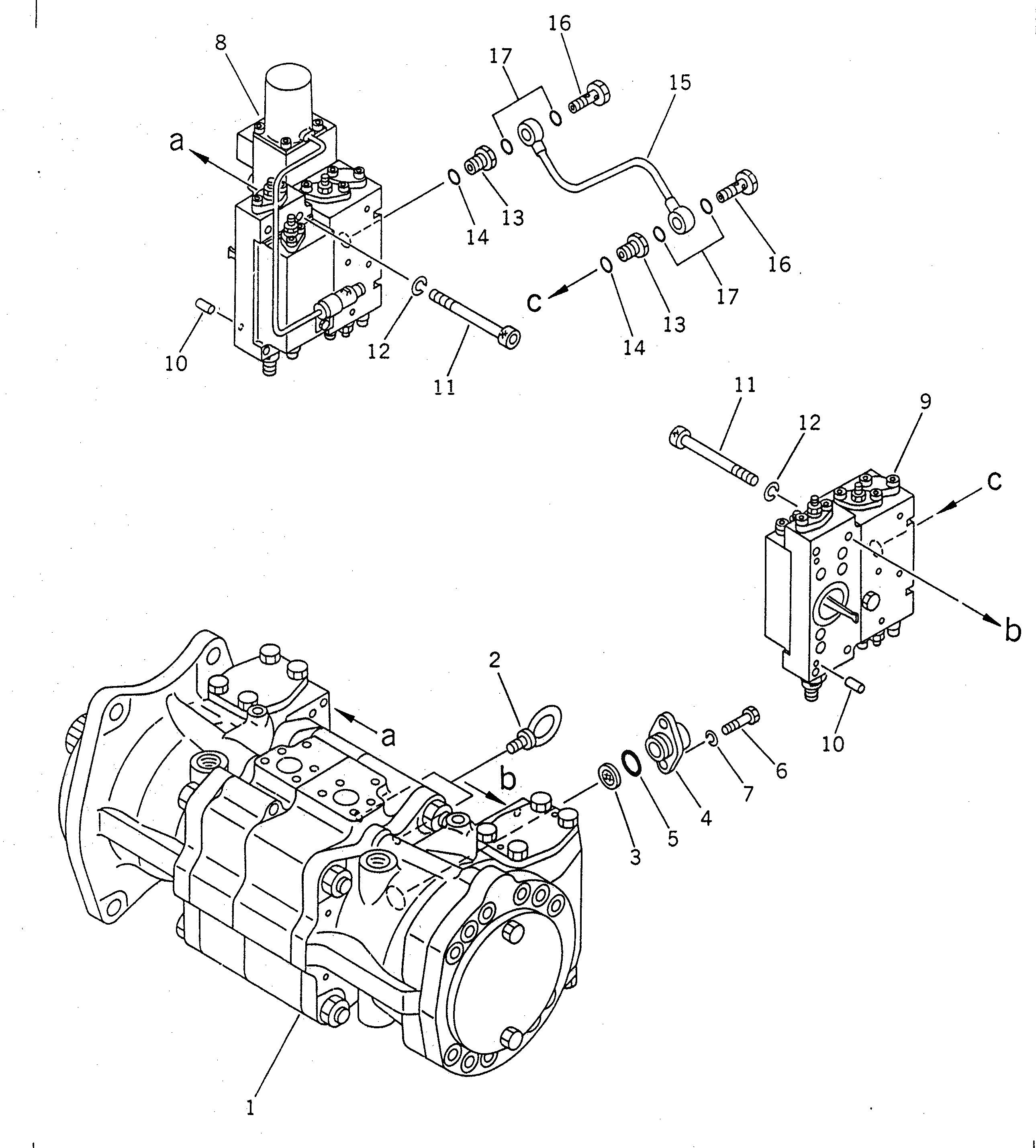
Запчасти Komatsu PC1600SP-1 ОСНОВН. НАСОС (/) (NO. НАСОС) ОСНОВН. КОМПОНЕНТЫ И РЕМКОМПЛЕКТЫ

Схема запчастей Komatsu PC1600SP-1 - ОСНОВН. НАСОС (/) (NO. НАСОС) ОСНОВН. КОМПОНЕНТЫ И РЕМКОМПЛЕКТЫ
FIT
1:1
100%

Артикул

Название

Примечание

Количество

|1

708-25-02051

PUMP ASS'Y

|1

708-25-02050

PUMP ASS'Y

1

708-25-04170

PUMP SUB ASS'Y

|1

708-25-51101

PUMP SUB ASS'Y

2

04530-01018

BOLT,EYE

3

720-68-15240

FILTER

4

708-25-19120

FLANGE

5

07000-02021

O-RING

6

01010-80820

BOLT

7

01602-20825

WASHER,SPRING

8

708-25-08130

SERVO VALVE ASS'Y,FRONT

9

708-25-08230

SERVO VALVE ASS'Y,REAR

10

04020-00616

PIN,DOWEL

11

708-25-19130

BOLT

12

01602-20825

WASHER,SPRING

13

706-46-53260

PLUG

14

07002-01423

O-RING

15

708-25-19140

TUBE

16

706-46-53180

BOLT,JOINT

17

07000-02012

O-RING

Выбрано товаров: 20