Запчасти Komatsu PC1600SP-1 ОСНОВН. НАСОС (7/) (NO. НАСОС) ОСНОВН. КОМПОНЕНТЫ И РЕМКОМПЛЕКТЫ

Схема запчастей Komatsu PC1600SP-1 - ОСНОВН. НАСОС (7/) (NO. НАСОС) ОСНОВН. КОМПОНЕНТЫ И РЕМКОМПЛЕКТЫ
FIT
1:1
100%

Артикул

Название

Примечание

Количество

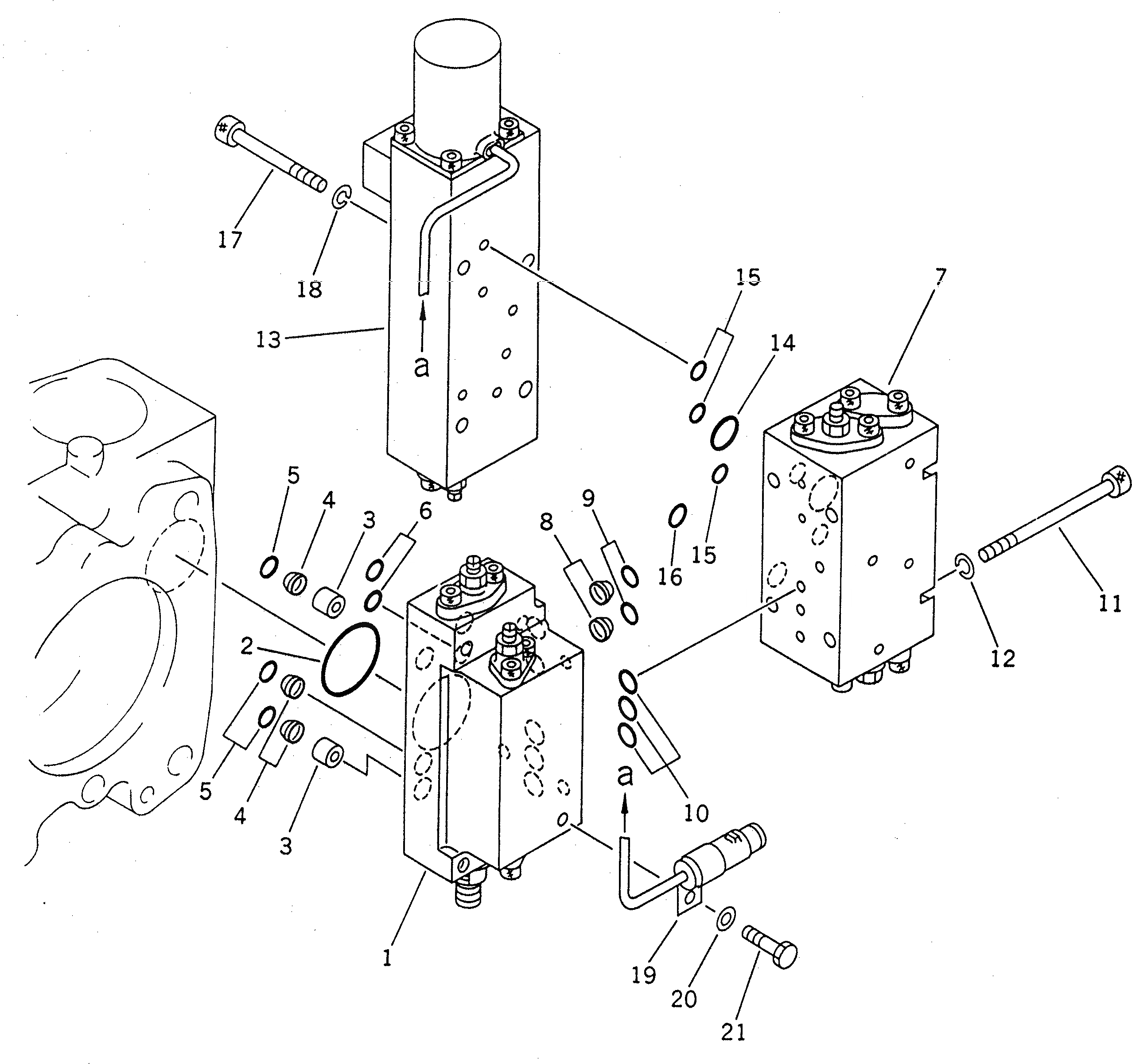
|1

708-25-02051

PUMP ASS'Y

|1

708-25-02050

PUMP ASS'Y

|1

708-25-08130

SERVO VALVE ASS'Y,FRONT

1

708-25-08330

SERVO VALVE SUB A.

2

07000-03048

O-RING

3

708-25-19150

ORIFICE

4

720-68-11920

FILTER

5

07000-12010

O-RING

6

07000-11009

O-RING

7

708-25-08530

VALVE ASS'Y

8

720-68-11920

FILTER

9

07000-12010

O-RING

10

07000-02011

O-RING

11

708-25-19160

BOLT

12

01602-20825

WASHER,SPRING

13

708-25-08730

VALVE ASS'Y,T.V.C.

14

07000-02018

O-RING

15

07000-11009

O-RING

16

07000-02011

O-RING

17

708-25-19130

BOLT

18

01602-20825

WASHER,SPRING

19

08036-21814

CLIP

20

01643-30823

WASHER

21

01010-80812

BOLT

Выбрано товаров: 24