Запчасти Komatsu PC1600SP-1 ОСНОВН. НАСОС (/) (NO. НАСОС) ОСНОВН. КОМПОНЕНТЫ И РЕМКОМПЛЕКТЫ

Схема запчастей Komatsu PC1600SP-1 - ОСНОВН. НАСОС (/) (NO. НАСОС) ОСНОВН. КОМПОНЕНТЫ И РЕМКОМПЛЕКТЫ
FIT
1:1
100%

Артикул

Название

Примечание

Количество

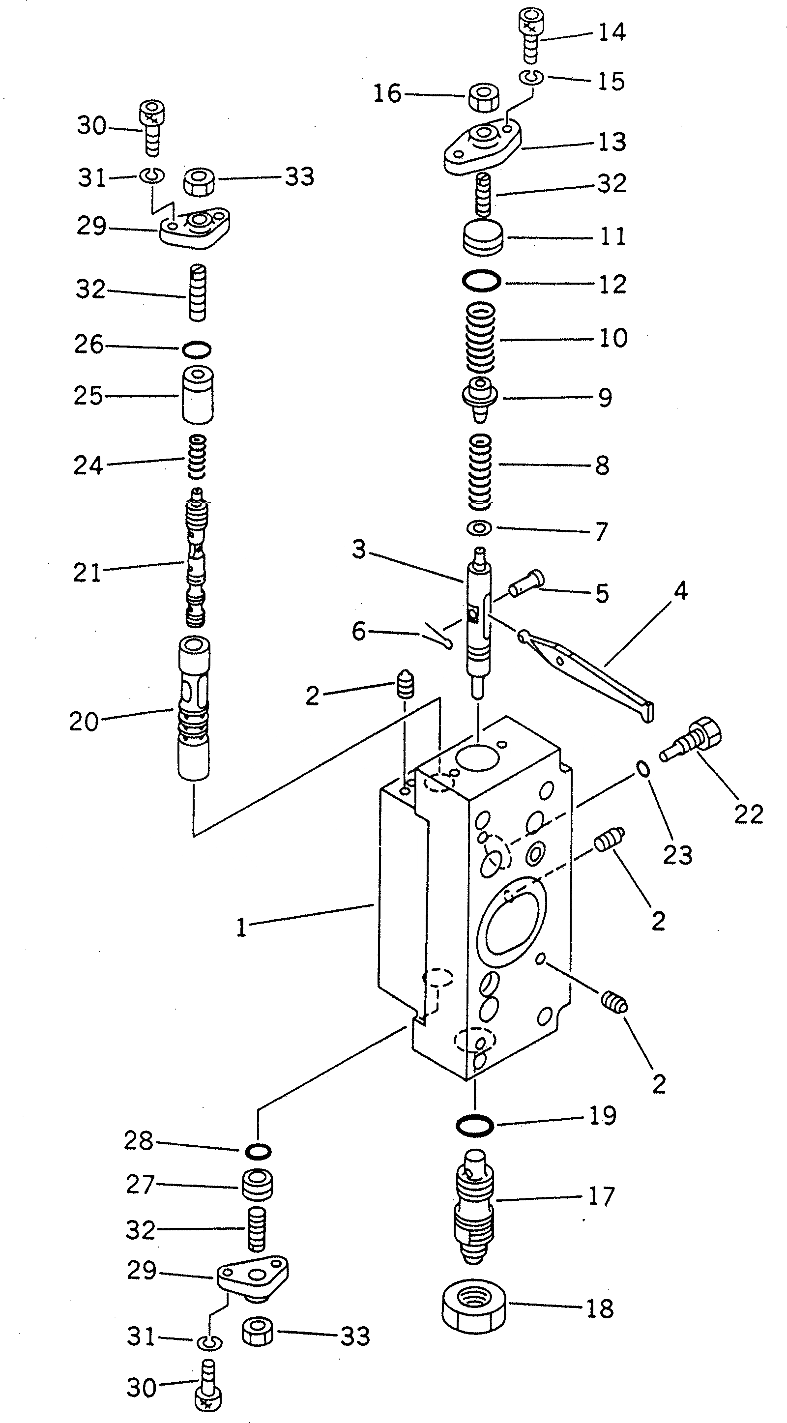
|1

708-25-02051

PUMP ASS'Y

|1

708-25-02050

PUMP ASS'Y

|1

708-25-08230

SERVO VALVE ASS'Y,REAR

|1

708-25-08430

SERVO VALVE SUB A.

|1

708-23-07021

BODY ASS'Y

1

BODY

2

EXPANDER

3

708-25-15120

PISTON

4

708-25-15270

ARM

5

04205-00514

PIN

6

04050-01210

PIN,COTTER

7

708-25-15130

SEAT

8

708-25-55130

SPRING

9

708-23-15120

SEAT

10

708-25-55120

SPRING

11

708-23-15160

PLUG

12

07000-02018

O-RING

13

708-25-15150

COVER

14

708-25-15320

BOLT

15

01602-20619

WASHER,SPRING

16

01580-10806

NUT

17

708-25-55170

PLUG

18

07239-12009

NUT

19

07002-02034

O-RING

20

708-25-15180

SLEEVE

21

708-25-15280

SPOOL

22

708-25-15260

PLUG

23

07002-00823

O-RING

24

708-25-15310

SPRING

25

708-25-15330

SPACER

26

07000-02012

O-RING

27

708-25-15430

PLUG

28

07000-02012

O-RING

29

708-25-15250

COVER

30

708-25-15320

BOLT

31

01602-20619

WASHER,SPRING

32

708-25-15340

SCREW

33

01580-10806

NUT

Выбрано товаров: 38