Запчасти Komatsu PC1600SP-1 МОТОР ХОДА (/) ОСНОВН. КОМПОНЕНТЫ И РЕМКОМПЛЕКТЫ

Схема запчастей Komatsu PC1600SP-1 - МОТОР ХОДА (/) ОСНОВН. КОМПОНЕНТЫ И РЕМКОМПЛЕКТЫ
FIT
1:1
100%

Артикул

Название

Примечание

Количество

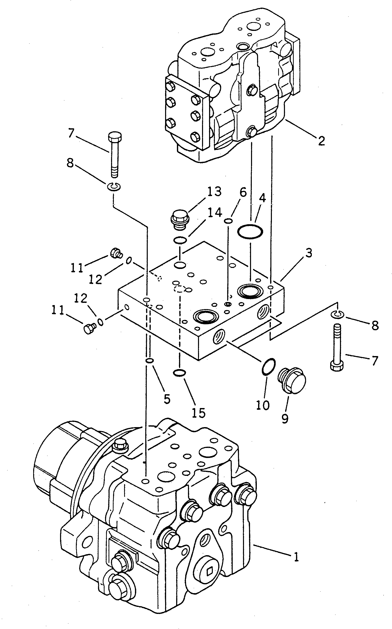
|1

706-77-01041

MOTOR ASS'Y

|1

706-77-01040

MOTOR ASS'Y

1

706-77-03111

MOTOR SUB ASS'Y

|1

706-77-03110

MOTOR ASS'Y

2

702-67-01200

VALVE ASS'Y

3

706-77-79140

BLOCK

4

07000-13042

O-RING

5

07000-12010

O-RING

6

07000-12012

O-RING

7

01010-51485

BOLT

8

01602-21442

WASHER

9

706-77-71670

PLUG

10

07002-13034

O-RING

11

706-75-71420

PLUG

12

07002-10823

O-RING

13

706-87-40150

PLUG

14

07002-12434

O-RING

15

07000-12021

O-RING

Выбрано товаров: 18