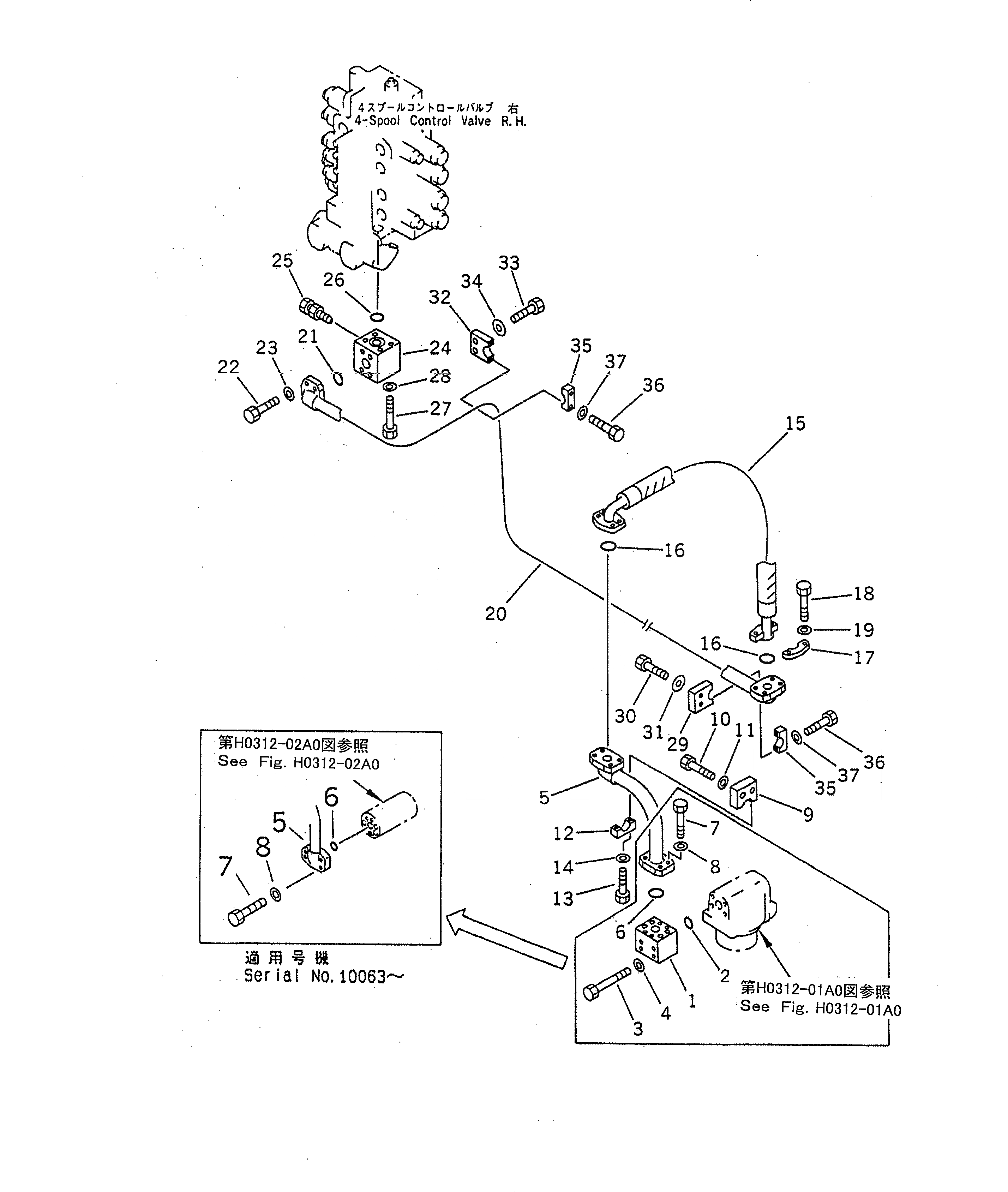
Запчасти Komatsu PC1600SP-1 ФИЛЬТР - 4-Х СЕКЦИОНН. УПРАВЛЯЮЩ. КЛАПАН ТРУБЫ¤ ПРАВ. ГИДРАВЛИКА

Схема запчастей Komatsu PC1600SP-1 - ФИЛЬТР - 4-Х СЕКЦИОНН. УПРАВЛЯЮЩ. КЛАПАН ТРУБЫ¤ ПРАВ. ГИДРАВЛИКА
FIT
1:1
100%

Артикул

Название

Примечание

Количество

1

21T-62-71180

BLOCK

2

21T-09-11480

O-RING

3

01011-51220

BOLT

4

01643-31232

WASHER

5

21T-62-71222

TUBE

|5

21T-62-71221

TUBE

6

07000-B3048

O-RING

|6

21T-09-11510

O-RING

7

01010-81450

BOLT

|7

01010-51455

BOLT

8

01643-31445

WASHER

9

21T-62-71680

CLAMP

10

01010-81250

BOLT

11

175-54-34170

WASHER

12

176-61-41330

CLAMP

13

01010-81250

BOLT

14

01643-31232

WASHER

15

07098-01411

HOSE

16

07000-B3048

O-RING

|16

21T-09-11510

O-RING

17

07371-51470

FLANGE

18

01010-81455

BOLT

19

01643-31445

WASHER

20

21T-62-71231

TUBE

21

07000-B3048

O-RING

|21

21T-09-11510

O-RING

22

01010-81445

BOLT

23

01643-31445

WASHER

|24

21T-62-71300

VALVE ASS'Y

24

21T-62-71290

BLOCK

25

198-30-14420

PLUG

26

07000-B3048

O-RING

|26

21T-09-11510

O-RING

27

01011-81445

BOLT

|27

01011-51445

BOLT

28

01643-31445

WASHER

29

21T-62-71660

CLAMP

30

01010-81240

BOLT

|30

01010-51250

BOLT

31

175-54-34170

WASHER

32

21T-62-71680

CLAMP

33

01010-81250

BOLT

34

175-54-34170

WASHER

35

176-61-41330

CLAMP

36

01010-81250

BOLT

37

01643-31232

WASHER

Выбрано товаров: 46