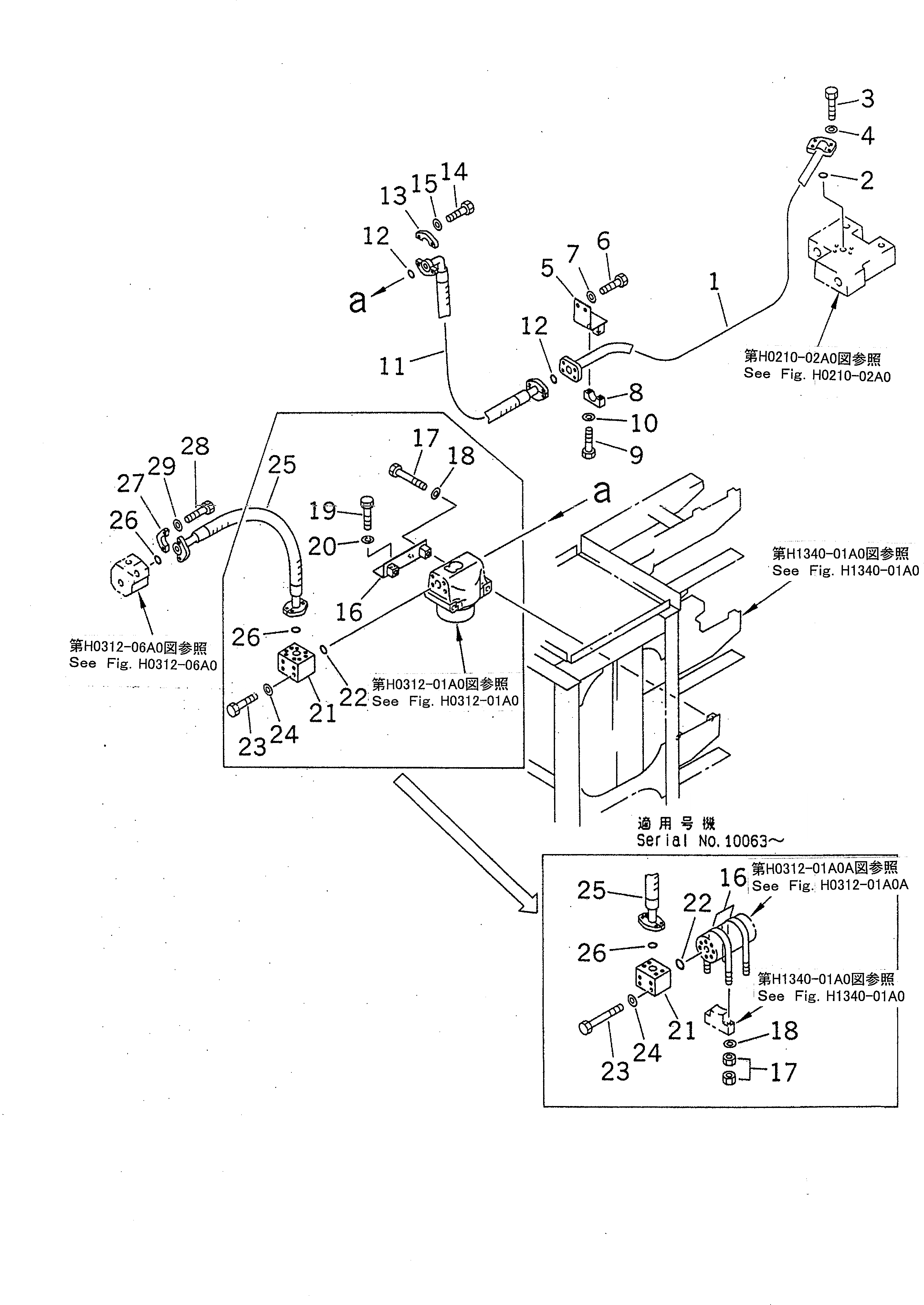
Запчасти Komatsu PC1600SP-1 БЛОК - ПОВОРОТН. УПРАВЛЯЮЩ. КЛАПАН ТРУБЫ¤ ЗАДН. ГИДРАВЛИКА

Схема запчастей Komatsu PC1600SP-1 - БЛОК - ПОВОРОТН. УПРАВЛЯЮЩ. КЛАПАН ТРУБЫ¤ ЗАДН. ГИДРАВЛИКА
FIT
1:1
100%

Артикул

Название

Примечание

Количество

1

21T-62-71551

TUBE

2

07000-B3038

O-RING

|2

21T-09-11480

O-RING

3

01010-81245

BOLT

4

01643-31232

WASHER

5

21T-62-71571

BRACKET

6

01010-81230

BOLT

7

01643-31232

WASHER

8

205-62-54460

CLAMP

9

01010-81250

BOLT

10

01643-31232

WASHER

11

07098-01211

HOSE

12

07000-B3038

O-RING

|12

21T-09-11480

O-RING

13

07371-51260

FLANGE

14

01010-81245

BOLT

15

01643-31232

WASHER

16

209-62-61181

BAND

|16

21T-62-71280

BRACKET

17

01580-11613

NUT

|17

11T-61-14720

BOLT

18

01643-31645

WASHER

|18

01643-31645

WASHER

19

01010-81235

BOLT

20

01643-31232

WASHER

21

21T-62-71181

BLOCK

|21

21T-62-71180

BLOCK

22

07000-B3038

O-RING

|22

21T-09-11480

O-RING

23

01011-81220

BOLT

|23

01011-51220

BOLT

24

01643-31232

WASHER

25

07099-01209

HOSE

26

07000-B3038

O-RING

|26

21T-09-11480

O-RING

27

07371-51260

FLANGE

28

01010-81245

BOLT

29

01643-31232

WASHER

Выбрано товаров: 38