Запчасти Komatsu PC1600SP-1 ЛИНИИ МАСЛООХЛАДИТЕЛЯ¤ ПЕРЕДН. (/) ГИДРАВЛИКА

Схема запчастей Komatsu PC1600SP-1 - ЛИНИИ МАСЛООХЛАДИТЕЛЯ¤ ПЕРЕДН. (/) ГИДРАВЛИКА
FIT
1:1
100%

Артикул

Название

Примечание

Количество

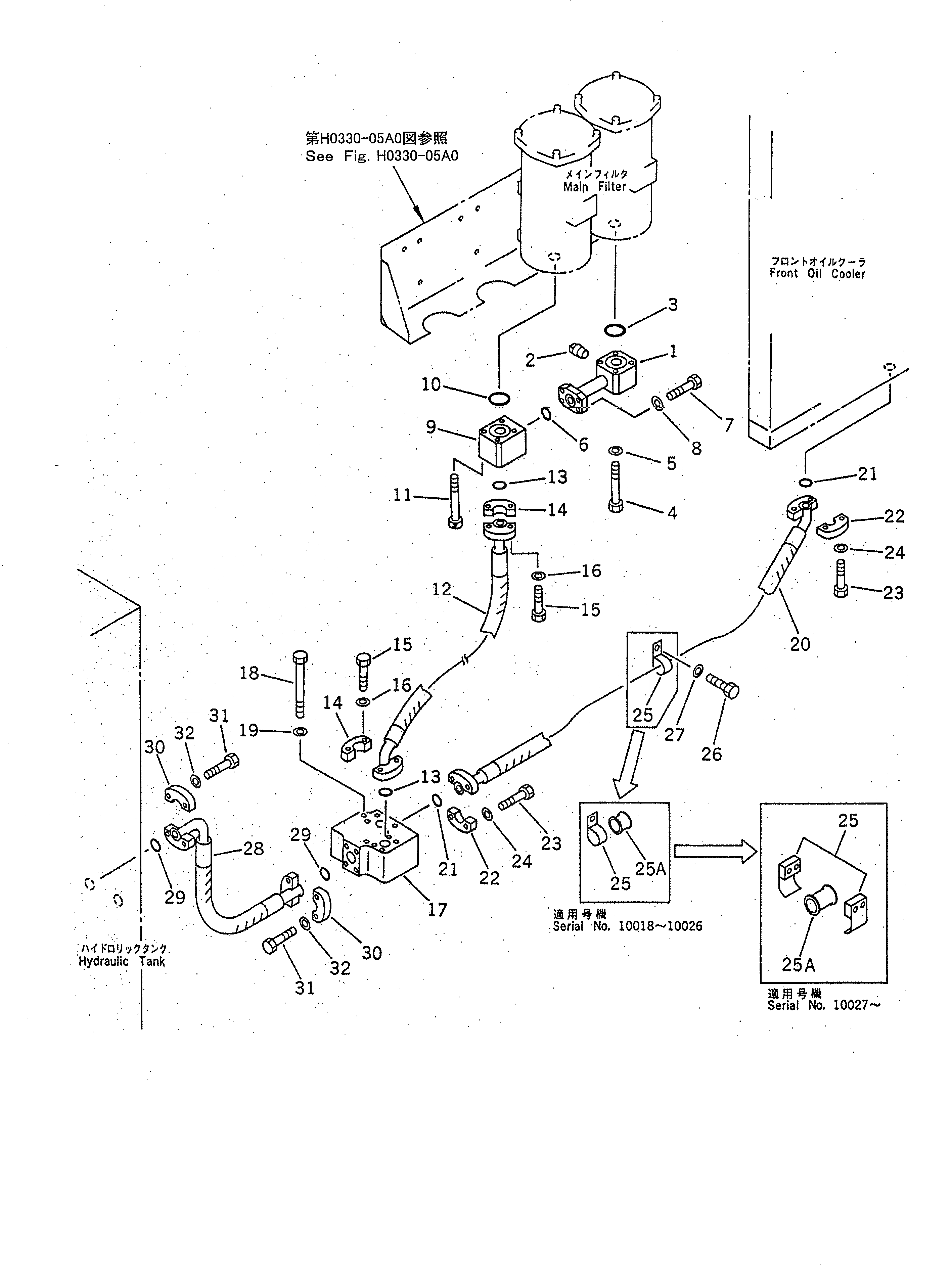
1

21T-62-76620

TUBE

2

07042-30108

PLUG

3

07000-12065

O-RING

|3

07000-02065

O-RING

4

01010-81290

BOLT

5

01643-31232

WASHER

6

07000-13045

O-RING

|6

07000-03045

O-RING

7

07372-21240

BOLT

8

01643-51232

WASHER

9

21T-62-76121

BLOCK

10

07000-12065

O-RING

|10

07000-02065

O-RING

11

01252-41295

BOLT

12

07297-01412

HOSE

13

07000-13048

O-RING

|13

07000-03048

O-RING

14

07371-31465

FLANGE,SPLIT

15

07372-21240

BOLT

16

01643-51232

WASHER

17

21T-60-72102

VALVE ASS'Y,(SEE FIG.H0320-01A0)

|17

21T-60-72101

VALVE ASS'Y,(SEE FIG.H0320-01A0)

18

01011-81220

BOLT

|18

01011-51220

BOLT

19

01643-31232

WASHER

20

07297-01418

HOSE

21

07000-13048

O-RING

|21

07000-03048

O-RING

22

07371-31465

FLANGE,SPLIT

23

07372-21240

BOLT

24

01643-51232

WASHER

25

07094-01228

CLAMP

|25

21T-62-76831

CLIP

|25

19M-60-12720

CLIP

25A

07095-01245

CUSHION

|25A

21T-62-76820

CUSHION

26

01010-81285

BOLT

|26

01010-51225

BOLT

27

01643-31232

WASHER

|27

01643-31232

WASHER

28

07298-01408

HOSE

29

07000-13048

O-RING

|29

07000-03048

O-RING

30

07371-31465

FLANGE,SPLIT

31

07372-21240

BOLT

32

01643-51232

WASHER

Выбрано товаров: 46