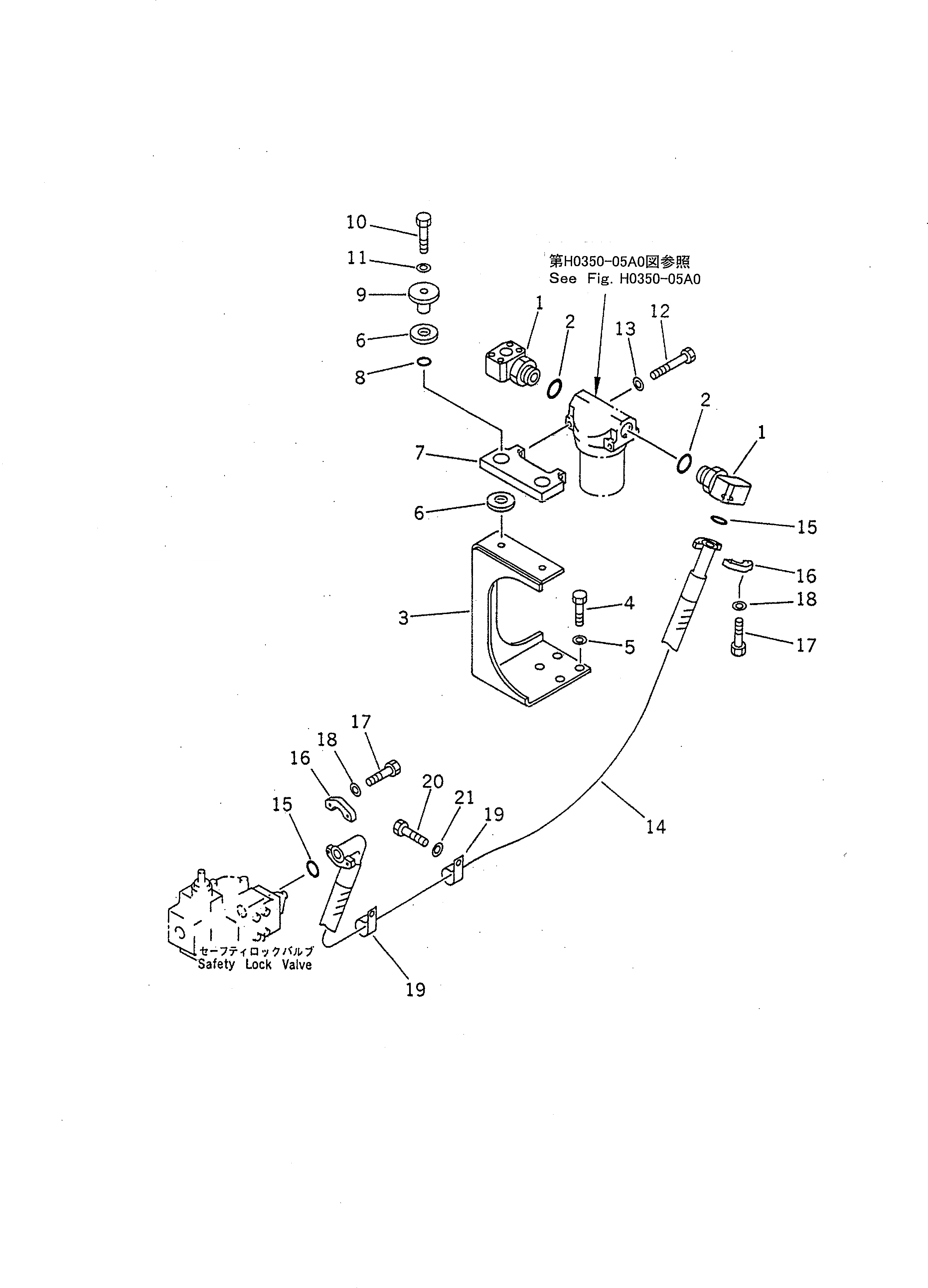
Запчасти Komatsu PC1600SP-1 НАСОС - БЕЗОПАСН. ЛИНИЯ ЗАКРЫВАЮЩЕГО КЛАПАНА ГИДРАВЛИКА

Схема запчастей Komatsu PC1600SP-1 - НАСОС - БЕЗОПАСН. ЛИНИЯ ЗАКРЫВАЮЩЕГО КЛАПАНА ГИДРАВЛИКА
FIT
1:1
100%

Артикул

Название

Примечание

Количество

1

209-62-57390

ELBOW

2

07002-13334

O-RING

2

07002-03334

O-RING

3

21T-62-77521

BRACKET

4

01010-81230

BOLT

4

01010-51230

BOLT

5

01643-31232

WASHER

6

205-62-83140

CUSHION

7

209-62-57690

PLATE

8

07000-13022

O-RING

8

07000-03022

O-RING

9

209-62-57710

COLLAR

10

01010-81270

BOLT

10

01010-51270

BOLT

11

01643-31232

WASHER

12

01011-81000

BOLT

12

01011-51000

BOLT

13

01643-31032

WASHER

14

07298-01018

HOSE

15

07000-13032

O-RING

15

07000-03032

O-RING

16

07371-31049

FLANGE

17

07372-21035

BOLT

18

01643-51032

WASHER

19

208-06-19170

CLIP

20

01010-81225

BOLT

20

01010-51225

BOLT

21

01643-31232

WASHER

Выбрано товаров: 28