Запчасти Komatsu PC1600SP-1 НИЖН. ОСВЕЩЕНИЕ И ОСВЕЩЕНИЕ ЭЛЕКТРИКА

Схема запчастей Komatsu PC1600SP-1 - НИЖН. ОСВЕЩЕНИЕ И ОСВЕЩЕНИЕ ЭЛЕКТРИКА
FIT
1:1
100%

Артикул

Название

Примечание

Количество

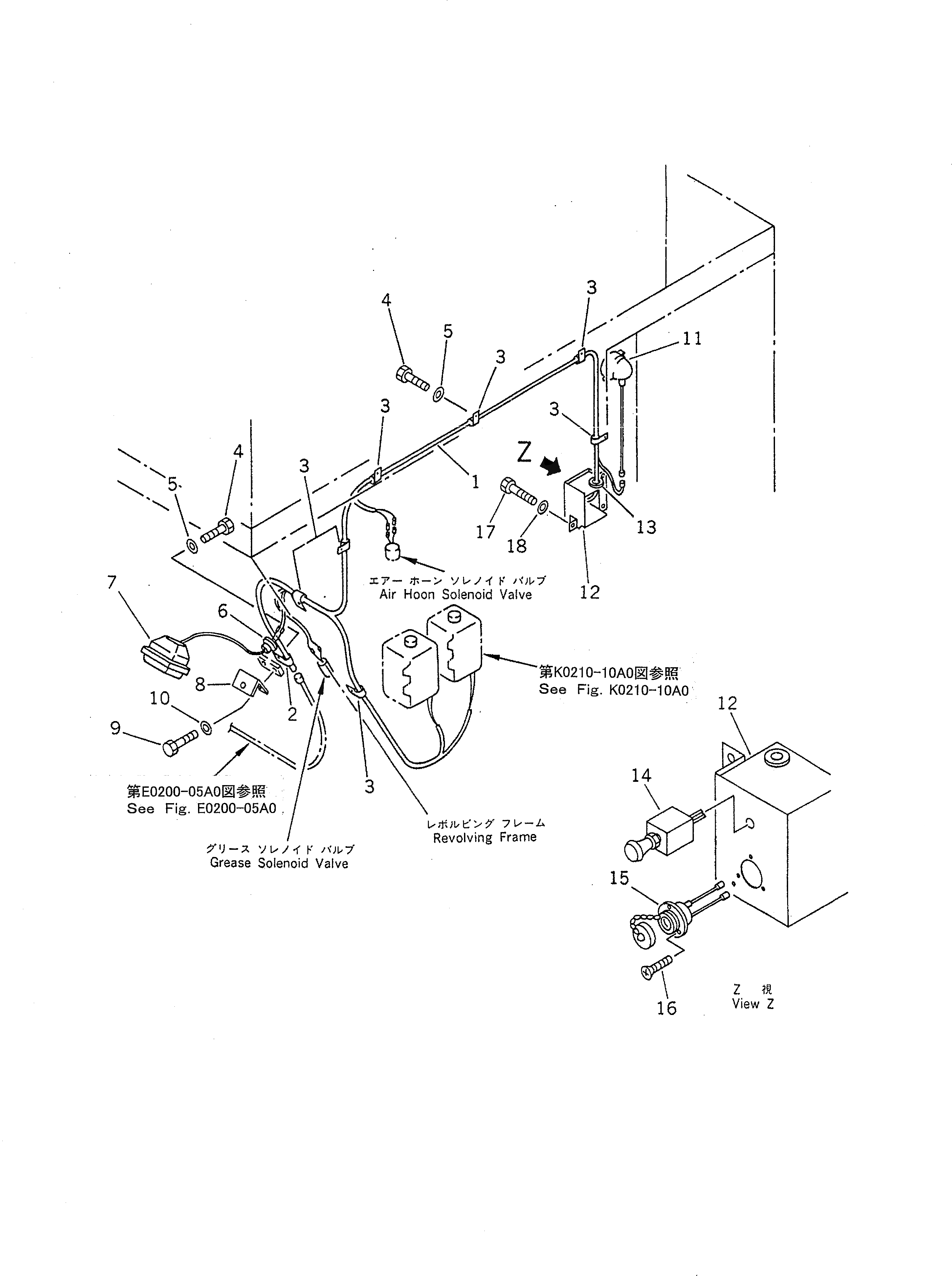
1

21T-06-71193

WIRING HARNESS

1

21T-06-71192

WIRING HARNESS

2

195-06-41830

CLIP

3

08036-01414

CLIP

4

01010-81225

BOLT

5

01643-31232

WASHER

6

21T-54-71980

GROMMET

7

17A-06-17920

WORK LAMP ASS'Y

7

203-06-56140

LAMP ASS'Y

7

9\922W-06-12381

LAMP ASS'Y

7

22W-06-12170

BULB

8

21T-54-71330

BRACKET

9

01010-81225

BOLT

10

01643-31232

WASHER

11

08138-02400

LAMP ASS'Y

11

08105-12420

BULB, 25W

12

21T-06-71790

BRACKET

13

08037-02512

GROMMET

14

08061-40041

SWITCH

15

21T-06-11450

CONCENT

16

01224-40308

SCREW

17

01010-81225

BOLT

18

01643-31232

WASHER

Выбрано товаров: 23