Запчасти Komatsu PC1600SP-1 КОНТРОЛЬНЫЙ КЛАПАН(ДЛЯ ЦИЛИНДР) ГИДРАВЛИКА

Схема запчастей Komatsu PC1600SP-1 - КОНТРОЛЬНЫЙ КЛАПАН(ДЛЯ ЦИЛИНДР) ГИДРАВЛИКА
FIT
1:1
100%

Артикул

Название

Примечание

Количество

|$1

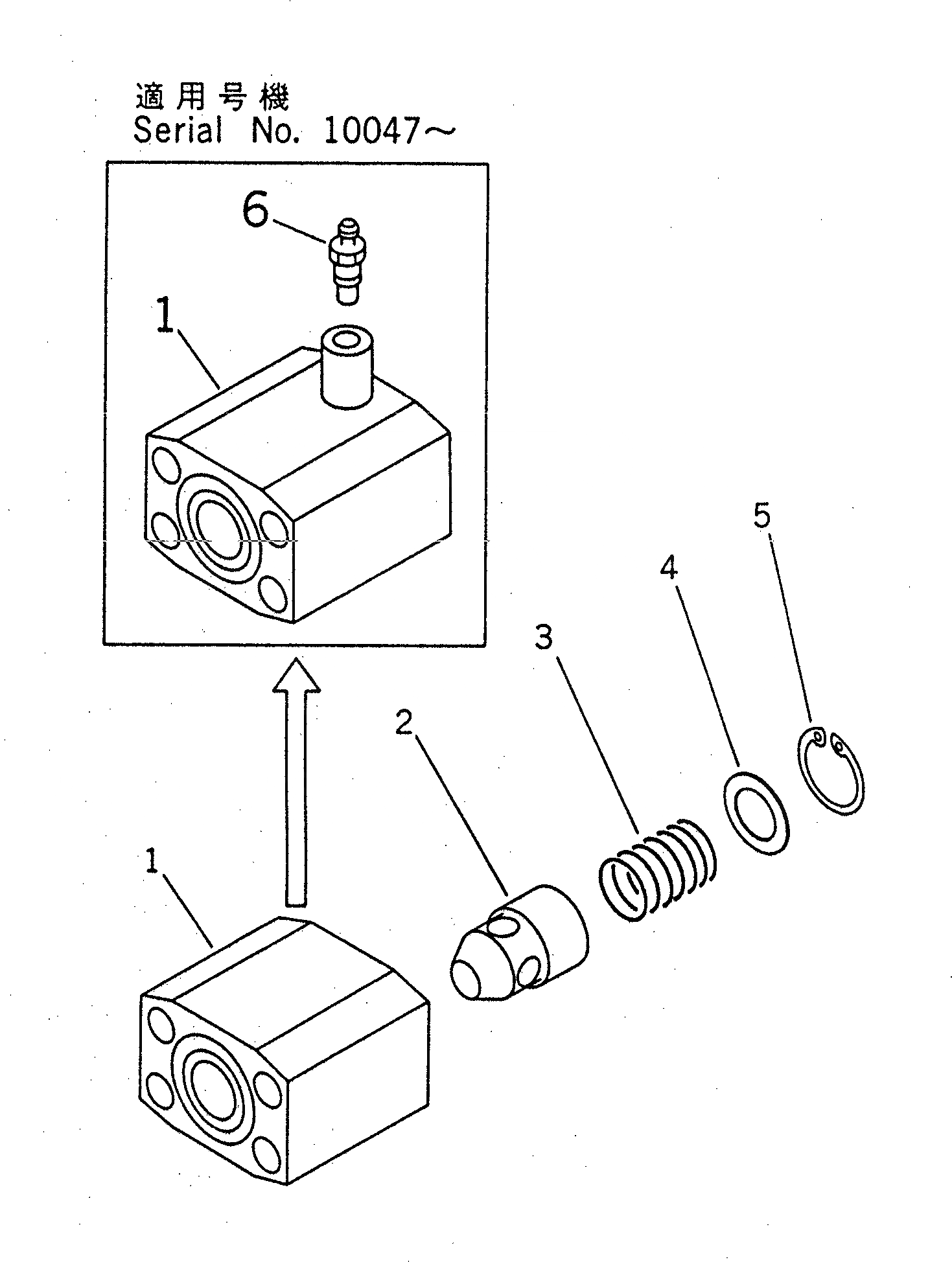
21T-60-75100

VALVE ASS'Y

|$2

205-60-51200

VALVE ASS'Y

1

21T-60-75110

BODY

1

205-60-51280

BODY

2

205-60-51290

POPPET

3

205-60-51310

SPRING

4

205-60-51320

SEAT

5

04065-02812

RING

6

20B-27-11210

BLEEDER

Выбрано товаров: 9