Запчасти Komatsu PC1600SP-1 4-Х СЕКЦИОНН. УПРАВЛЯЮЩ. КЛАПАН¤ ЛЕВ. - ОСНОВН. ФИЛЬТР. ТРУБЫ ГИДРАВЛИКА

Схема запчастей Komatsu PC1600SP-1 - 4-Х СЕКЦИОНН. УПРАВЛЯЮЩ. КЛАПАН¤ ЛЕВ. - ОСНОВН. ФИЛЬТР. ТРУБЫ ГИДРАВЛИКА
FIT
1:1
100%

Артикул

Название

Примечание

Количество

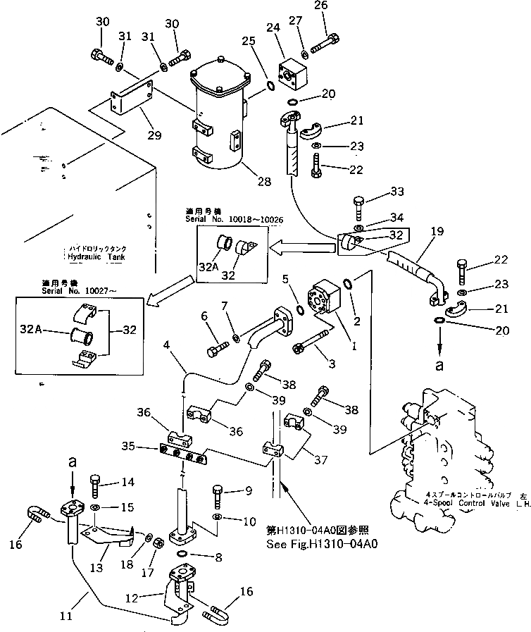
1

21T-62-76301

VALVE ASS'Y,(SEE FIG.H0330-01A0)

2

07000-12060

O-RING

2

07000-02060

O-RING

3

01253-41215

BOLT

4

21T-62-76382

TUBE

5

07000-13048

O-RING

5

07000-03048

O-RING

6

01010-81445

BOLT

7

01643-31445

WASHER

8

07000-13048

O-RING

8

07000-03048

O-RING

9

01010-81450

BOLT

10

01643-31445

WASHER

11

21T-62-76371

TUBE

12

21T-62-76430

BRACKET

13

21T-62-76440

BRACKET

14

01010-81230

BOLT

15

175-54-34170

WASHER

16

07283-34346

CLIP

17

01599-01011

NUT

18

01643-31032

WASHER

19

07298-01416

HOSE

20

07000-13048

O-RING

20

07000-03048

O-RING

21

07371-31465

FLANGE,SPLIT

22

07372-21240

BOLT

23

01643-51232

WASHER

24

21T-62-76110

BLOCK

25

07000-13048

O-RING

25

07000-03048

O-RING

26

01011-81200

BOLT

26

01011-51200

BOLT

27

01643-31232

WASHER

28

21T-60-72200

MAIN FILTER ASS'Y,(SEE FIG.H0110-02A0)

29

209-62-56180

BRACKET

30

01010-81230

BOLT

30

01010-51230

BOLT

31

01643-31232

WASHER

32

07094-01228

CLAMP

32

21T-62-76831

CLIP

32

19M-60-12720

CLIP

32A

07095-01245

CUSHION

32A

21T-62-76820

CUSHION

33

01010-81285

BOLT

33

01010-51225

BOLT

34

01643-31232

WASHER

34

01643-31232

WASHER

35

21T-62-74780

BRACKET

36

176-61-41330

CLAMP

37

205-62-54460

CLAMP

38

01010-81290

BOLT

39

01643-31232

WASHER

Выбрано товаров: 52