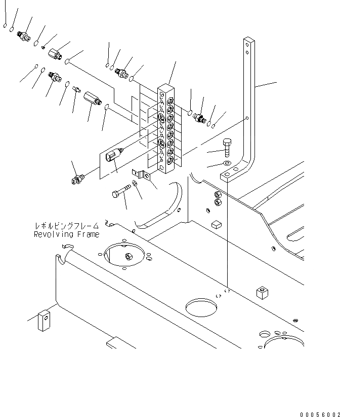
Запчасти Komatsu PC160LC-7-E0 БЛОК ПЕРЕКЛЮЧЕНИЯ ДАВЛЕНИЯ ГИДРАВЛИКА

Схема запчастей Komatsu PC160LC-7-E0 - БЛОК ПЕРЕКЛЮЧЕНИЯ ДАВЛЕНИЯ ГИДРАВЛИКА
1
2
3
4
5
6
7
8
8
9
9
10
10
11
11
12
13
14
15
16
17
18
19
20
21
22
23
24
25
26
27
FIT
1:1
100%

Артикул

Название

Примечание

Количество

1

01010-81240

BOLT

2

01643-31232

WASHER

3

21K-62-75540

PLATE

4

21K-62-75550

BLOCK

5

01010-81260

BOLT

6

01643-31232

WASHER

7

08053-01512

CLIP

8

20Y-62-16630

NIPPLE

9

201-60-11390

O-RING

10

20Y-62-19560

O-RING

11

07002-11423

O-RING

|12

203-60-62401

VALVE ASS'Y

12

07002-01423

O-RING

13

20Y-62-22410

NIPPLE

14

201-60-11390

O-RING

15

20Y-62-19560

O-RING

16

BODY

17

203-60-62430

POPPET

18

07002-11423

O-RING

|19

203-60-62300

VALVE ASS'Y

19

07002-01423

O-RING

20

203-60-62310

NIPPLE

21

201-60-11390

O-RING

22

20Y-62-19560

O-RING

23

203-60-62320

POPPET

24

BODY

25

07002-11423

O-RING

26

206-06-61130

SWITCH

27

7861-93-1840

SENSOR

Выбрано товаров: 29