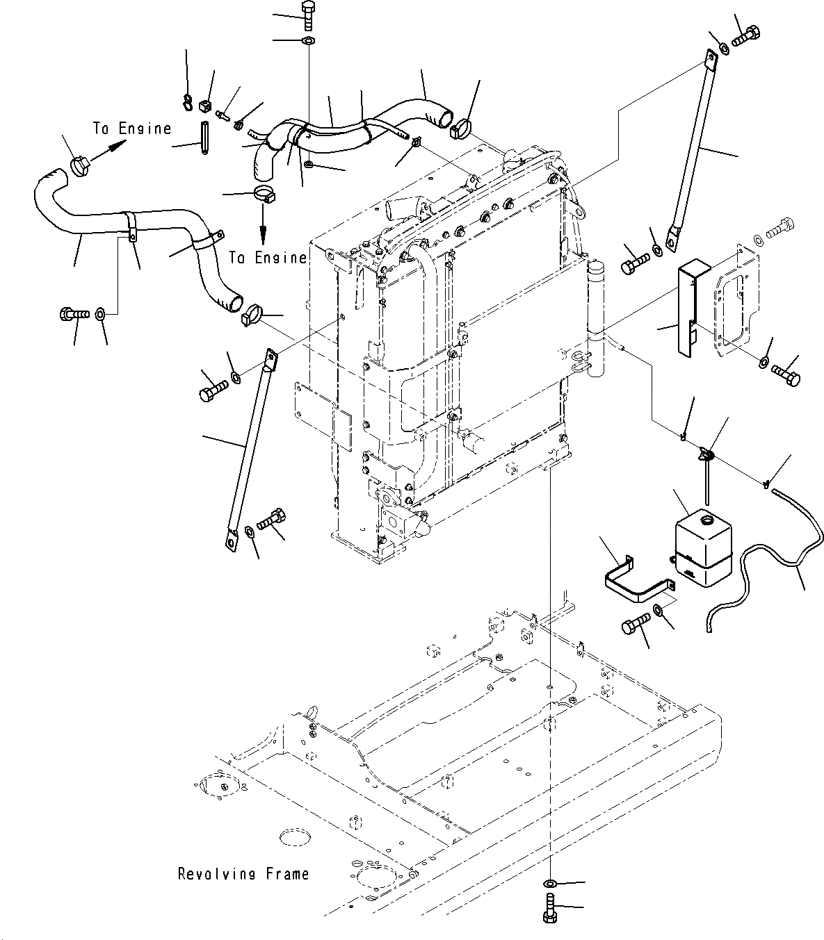
Запчасти Komatsu PC160LC-8 СИСТЕМА ОХЛАЖДЕНИЯ (СИСТЕМА ТРУБ РАДИАТОРА) C

Схема запчастей Komatsu PC160LC-8 - СИСТЕМА ОХЛАЖДЕНИЯ (СИСТЕМА ТРУБ РАДИАТОРА) C
15
17
18
13
5
4
12
15
1
2
14
6
15
3
2
15
16
8
7
10
11
9
9
21
20
19
23
22
8
22
23
19
21
20
26
25
24
35
30
35
29
31
34
33
32
28
27
FIT
1:1
100%

Артикул

Название

Примечание

Количество

1

21K-03-72311

HOSE

2

07289-00055

CLAMP

3

208-62-38370

CLIP

4

01010-81035

BOLT

5

01643-31032

WASHER

6

6202-83-6770

BOSS

7

21K-03-72321

HOSE

8

07289-00055

CLAMP

9

208-62-38370

CLIP

10

01010-81020

BOLT

11

01643-31032

WASHER

12

09483-10307

HOSE

13

11Y-09-11140

CLIP

14

11Y-09-11140

CLIP

15

134-03-61410

BAND

16

21K-03-72871

NIPPLE

17

21K-03-72881

TEE

18

21K-03-72891

NIPPLE

19

20Y-03-31210

STAY

20

01010-81635

BOLT

21

01643-31645

WASHER

22

01010-81635

BOLT

23

21T-54-16150

WASHER

24

21K-03-72560

BRACKET

25

01010-81025

BOLT

26

01643-31032

WASHER

27

01010-81240

BOLT

28

01643-31232

WASHER

29

20Y-06-15240

TANK

|$30

205-03-71271

TANK

30

205-03-71532

CAP

|$32

205-03-71540

PACKING

31

203-03-56650

BRACKET

32

01010-80820

BOLT

33

01643-30823

WASHER

34

20Y-03-21390

HOSE

35

206-03-43340

CLIP

Выбрано товаров: 37