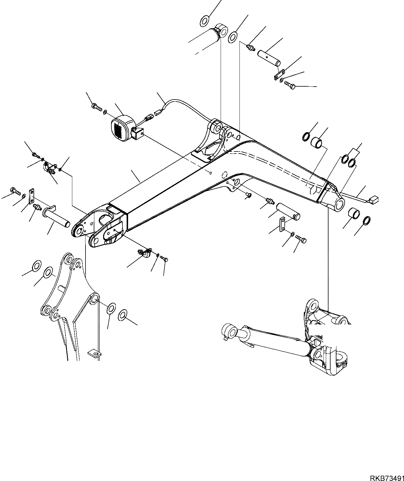
Запчасти Komatsu PC16R-3 СТРЕЛА (ДЛЯ ОБОРУД-Е) РАБОЧЕЕ ОБОРУДОВАНИЕ

Схема запчастей Komatsu PC16R-3 - СТРЕЛА (ДЛЯ ОБОРУД-Е) РАБОЧЕЕ ОБОРУДОВАНИЕ
28
25
23
22
24
27
10
6
26
5
3
2
30
3
9
1
31
10
29
15
4
16
18
14
17
12
2
19
11
3
21
20
8
31
7
30
13
7
13
FIT
1:1
100%

Артикул

Название

Примечание

Количество

1

22J-70-R5240

BOOM

2

22J-70-25142

BUSHING

3

07145-00035

SEAL, DUST

4

22L-46-12150

PLUG

5

2A1-06-15920

WORK LAMP, ASSEMBLY

6

01245-01016

SCREW

7

22J-70-16490

SPACER

8

22L-09-R8251

ELBOW

9

01640-20816

WASHER

10

22J-06-R5223

WIRING HARNESS

11

22J-70-R5151

PIN

12

07020-00000

FITTING, GREASE

13

20N-70-R1280

SPACER, 1.000 MM

14

20M-70-61120

PLATE

15

01010-81020

BOLT

16

01643-11032

WASHER

\16

22J-70-25160

PIN, ASSEMBLY

17

22J-70-25170

PIN

18

07020-00000

FITTING, GREASE

19

04082-00212

BLOCK

20

01010-81225

BOLT

21

01643-11232

WASHER

\21

22J-70-25181

PIN, ASSEMBLY

22

22J-70-25191

PIN

23

07020-00000

FITTING, GREASE

24

22L-09-R2460

PLATE

25

20N-70-R1280

SPACER, 1.000 MM

26

01010-81020

BOLT

27

01643-11032

WASHER

28

20N-70-41270

SHIM, 1.000 MM

29

22L-09-R8271

ELBOW

30

01010-80820

BOLT

31

01643-10823

WASHER

Выбрано товаров: 33