Качественные детали и логистика
Оригинальные и аналоговые запчасти с доставкой по России, Казахстану и Беларуси
©2022 PartSell ООО "Система" ИНН 2463123282 ОГРН 1212400004838
Центральный офис: г. Красноярск, Академика Киренского, д.87, пом.4
Телефон: 8 (800) 777-65-74 Email: zakaz@partsell.ru
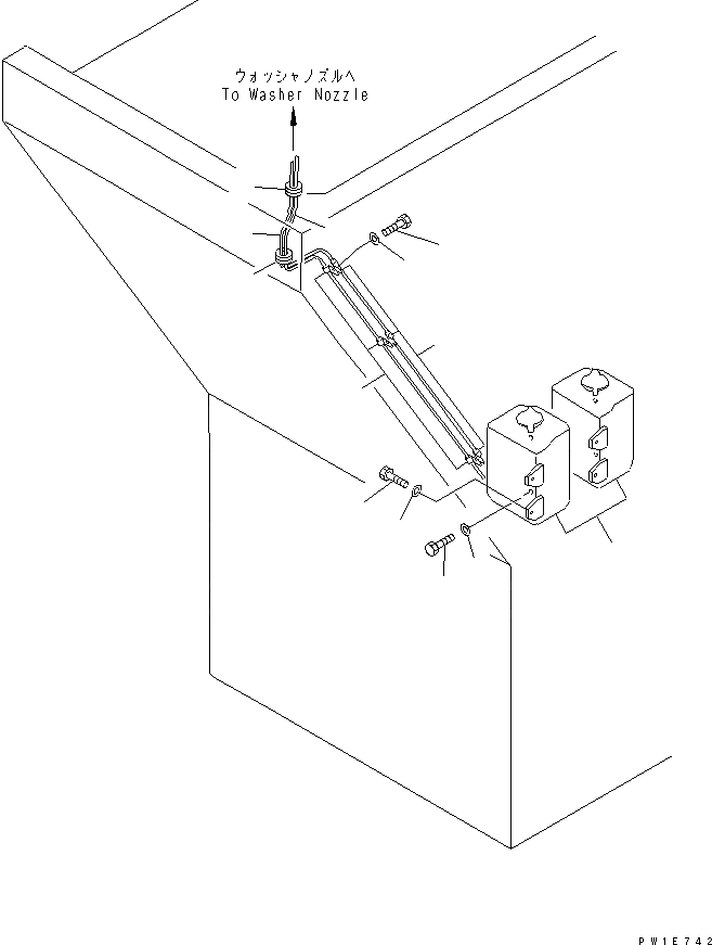
ЭЛЕКТРИКА (ОМЫВАТЕЛЬ СТЕКЛА)(№-)
№
Артикул
Название
Примечание
Количество
1
21T-06-11350
WASHER TANK ASS'Y
2
01010-80612
BOLT
3
01643-30623
WASHER
4
08036-00814
CLIP
5
01010-81225
6
01643-31232
7
21T-06-11411
HOSE
8
112-860-1360
GROMMET
9
Выбрано товаров: 0