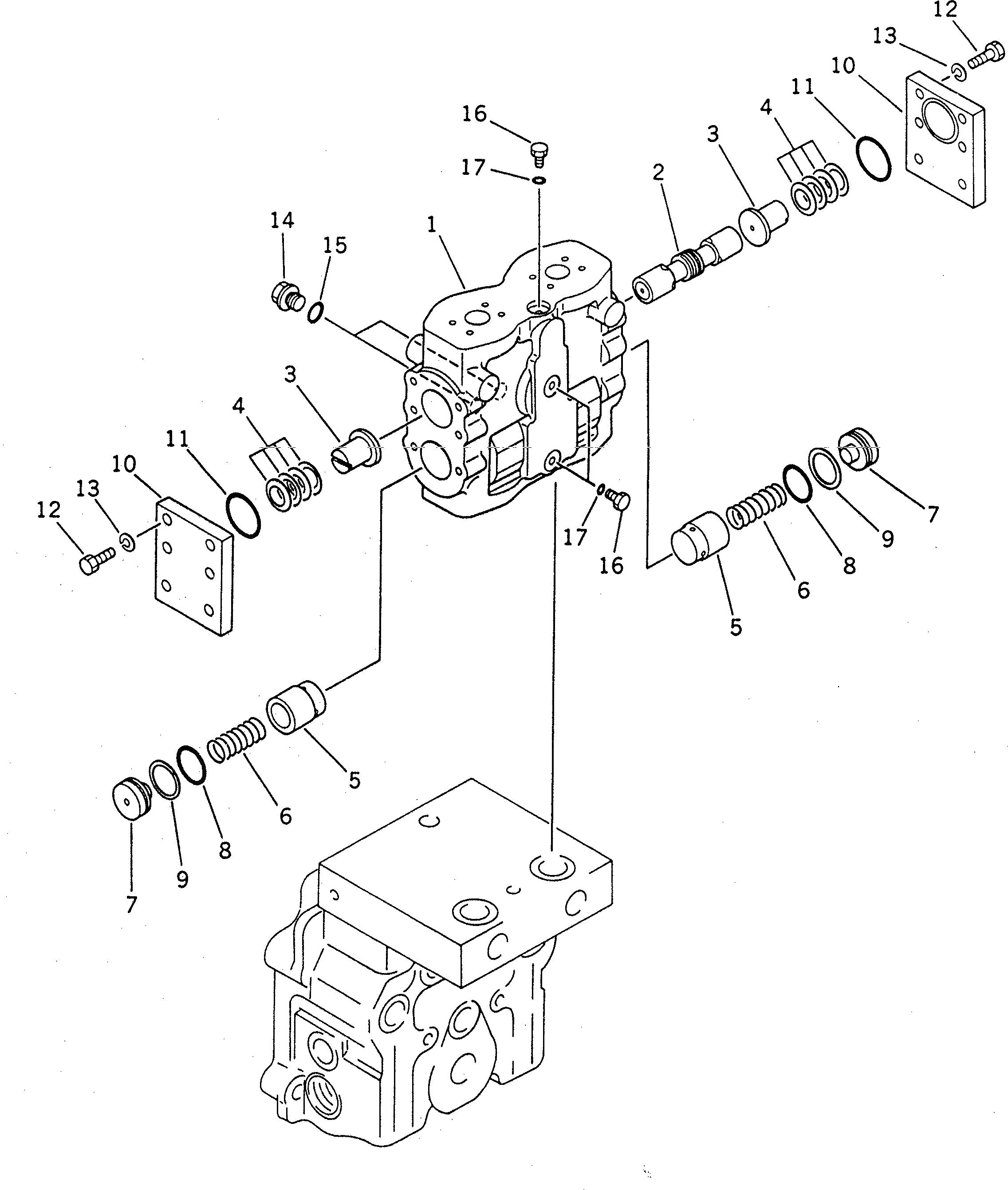
Запчасти Komatsu PC1800-6 МОТОР ХОДА (/) ОСНОВН. КОМПОНЕНТЫ И РЕМКОМПЛЕКТЫ

Схема запчастей Komatsu PC1800-6 - МОТОР ХОДА (/) ОСНОВН. КОМПОНЕНТЫ И РЕМКОМПЛЕКТЫ
FIT
1:1
100%

Артикул

Название

Примечание

Количество

|$1

706-77-01041

MOTOR ASS'Y

|$3

702-67-01200

VALVE ASS'Y

1

VALVE,BODY

2

SPOOL

3

706-77-72370

RETAINER

4

706-76-71420

SPRING

5

706-77-72130

VALVE

6

706-77-72140

SPRING

7

706-77-72260

SEAT

8

07000-13038

O-RING

9

07001-03038

RING,BACK-UP

10

706-77-72380

COVER

11

07000-13050

O-RING

12

01010-81255

BOLT

13

01602-21236

WASHER,SPRING

14

706-77-72280

PLUG

15

07002-12034

O-RING

16

706-75-71420

PLUG

17

07002-10823

O-RING

Выбрано товаров: 19