Запчасти Komatsu PC180LC-5K ОСНОВНАЯ РАМА СИСТЕМА УПРАВЛЕНИЯ И ОСНОВНАЯ РАМА

Схема запчастей Komatsu PC180LC-5K - ОСНОВНАЯ РАМА СИСТЕМА УПРАВЛЕНИЯ И ОСНОВНАЯ РАМА
FIT
1:1
100%

Артикул

Название

Примечание

Количество

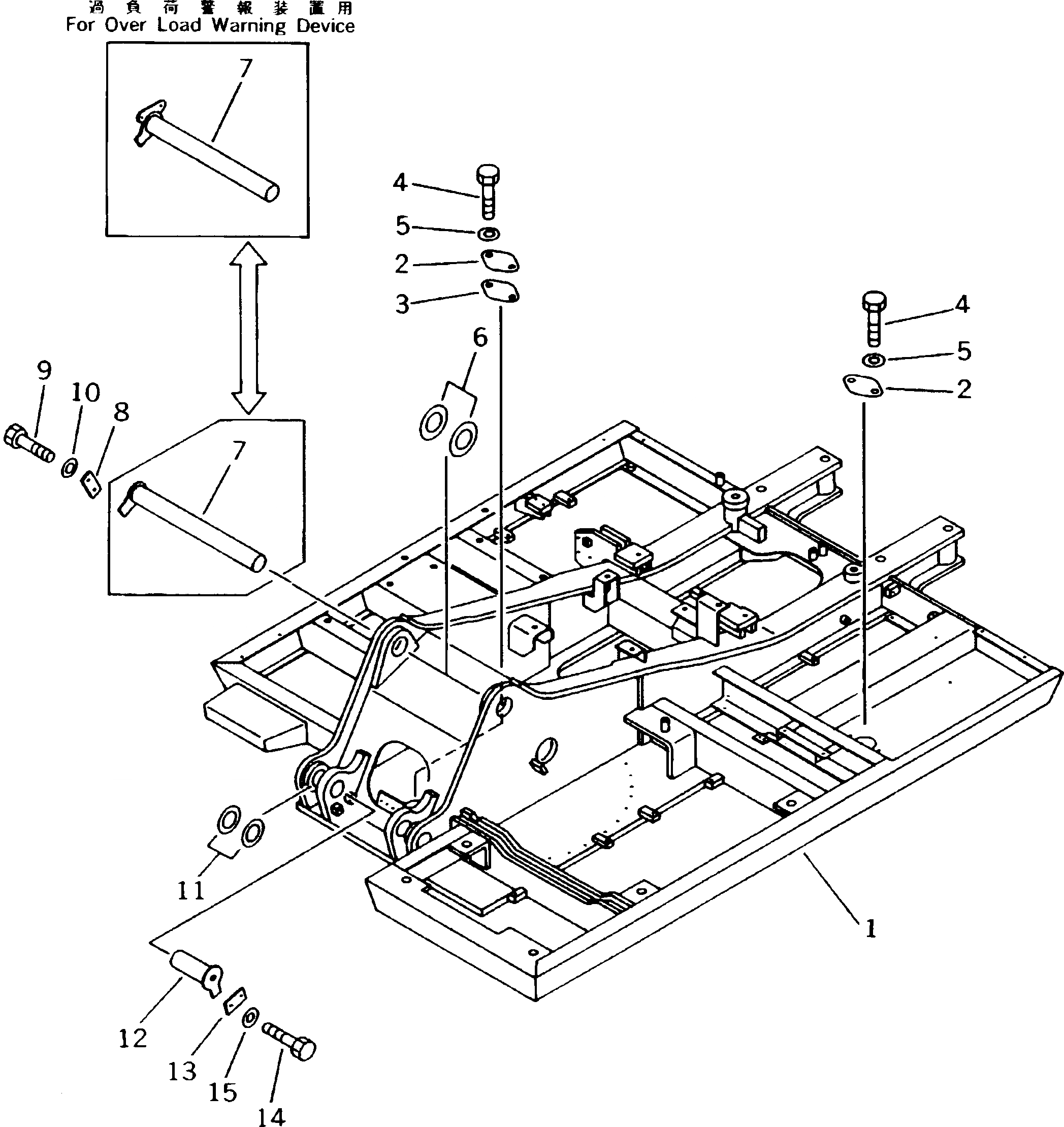
1

203-46-K1501

FRAME,REVOLVING

|1

203-46-K1500

FRAME,REVOLVING

|1

21P-46-21112

FRAME,REVOLVING

2

203-46-56160

COVER

3

203-46-31181

GASKET

4

01010-51230

BOLT

5

01643-31232

WASHER

6

21K-70-31370

SPACER¤ 0.5MM

|6

205-70-51450

SPACER¤ 1.0MM

7

21K-70-31310

PIN

|7

21P-70-12610

PIN,(FOR OVER LOAD WARNING DEVICE)

8

21K-70-31320

PLATE

9

01010-51235

BOLT

10

01643-31232

WASHER

11

203-70-41460

SPACER¤ 1.0MM

|11

203-70-41470

SPACER¤ 2.0MM

12

203-46-56260

PIN

13

203-46-56270

PLATE

14

01010-51230

BOLT

15

01643-31232

WASHER

Выбрано товаров: 0