Запчасти Komatsu PC180LLC-5K ТОПЛИВН. БАК. (НАСОС АВТОМАТИЧ. ЗАПРАВКИ)(№K-K9) КОМПОНЕНТЫ ДВИГАТЕЛЯ И ЭЛЕКТРИКА

Схема запчастей Komatsu PC180LLC-5K - ТОПЛИВН. БАК. (НАСОС АВТОМАТИЧ. ЗАПРАВКИ)(№K-K9) КОМПОНЕНТЫ ДВИГАТЕЛЯ И ЭЛЕКТРИКА
FIT
1:1
100%

Артикул

Название

Примечание

Количество

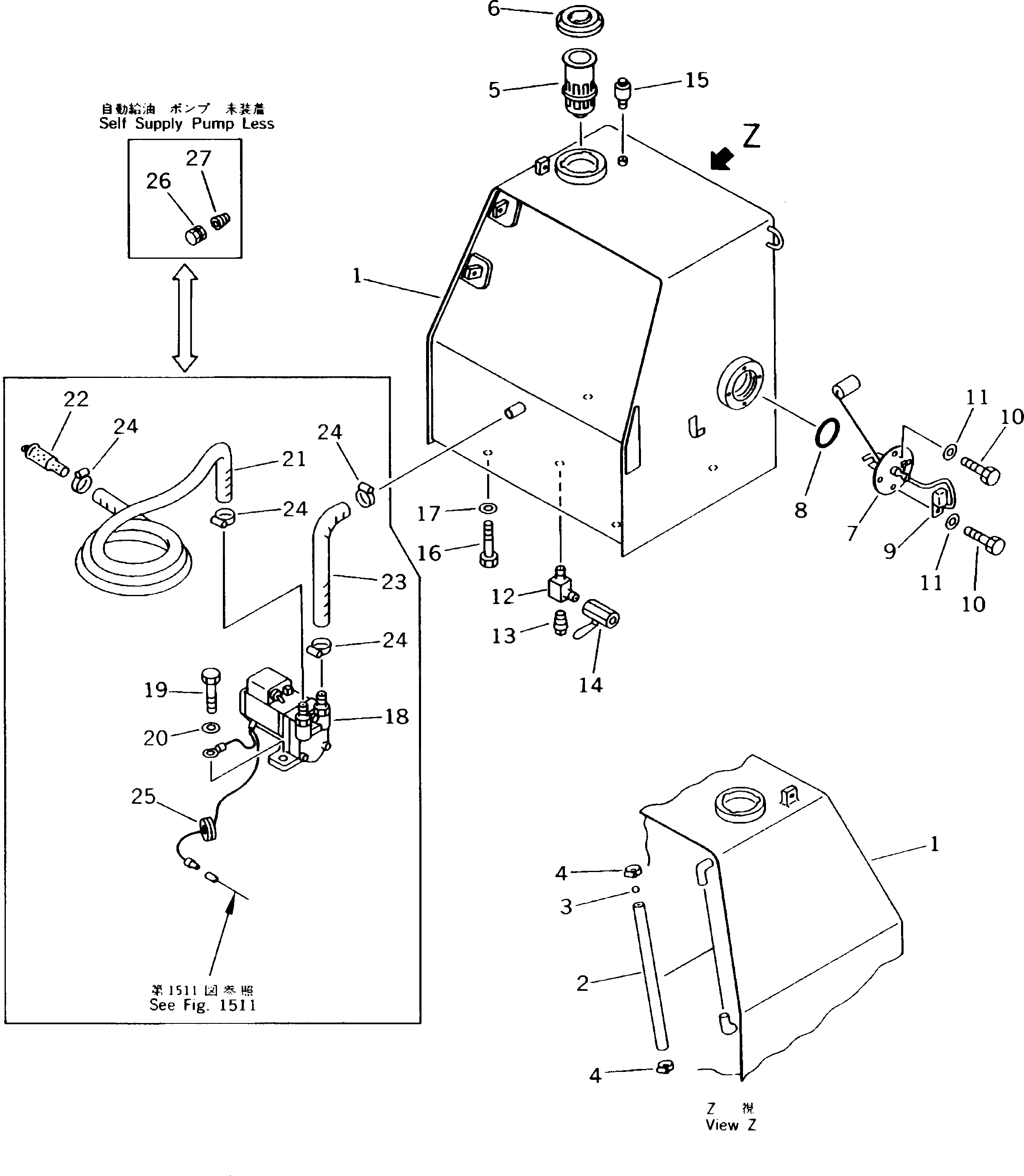
1

203-04-K1130

TANK,FUEL

2

203-60-52140

TUBE

3

201-04-21160

BALL,FLOAT

4

07281-00197

CLAMP

5

07056-18416

STRAINER

6

20Y-04-11160

CAP

|6

20Y-04-11240

PACKING

7

7861-92-4800

SENSOR,FUEL LEVEL (SEE FIG.1511)

8

07000-02085

O-RING

9

08053-01512

CLIP

10

01010-51016

BOLT

11

01643-31032

WASHER

12

203-60-52240

ELBOW

13

07042-30108

PLUG

14

07700-40240

VALVE

15

07030-00252

BREATHER

16

01010-51435

BOLT

17

01643-31445

WASHER

18

205-04-K1160

PUMP ASS'Y,SELF SUPPLY

19

01010-51030

BOLT

20

01643-31032

WASHER

21

205-04-K1130

HOSE

22

207-04-K1160

VALVE ASS'Y,FOOT

23

203-04-K1120

HOSE

24

07281-00419

CLAMP

25

08037-02512

GROMMET

26

203-04-K1140

END,BLANKING

27

07043-70211

PLUG

Выбрано товаров: 28