Запчасти Komatsu PC180LLC-5K СТРЕЛА(№K-K9) РАБОЧЕЕ ОБОРУДОВАНИЕ (ЭКСКАВАТ.)

Схема запчастей Komatsu PC180LLC-5K - СТРЕЛА(№K-K9) РАБОЧЕЕ ОБОРУДОВАНИЕ (ЭКСКАВАТ.)
FIT
1:1
100%

Артикул

Название

Примечание

Количество

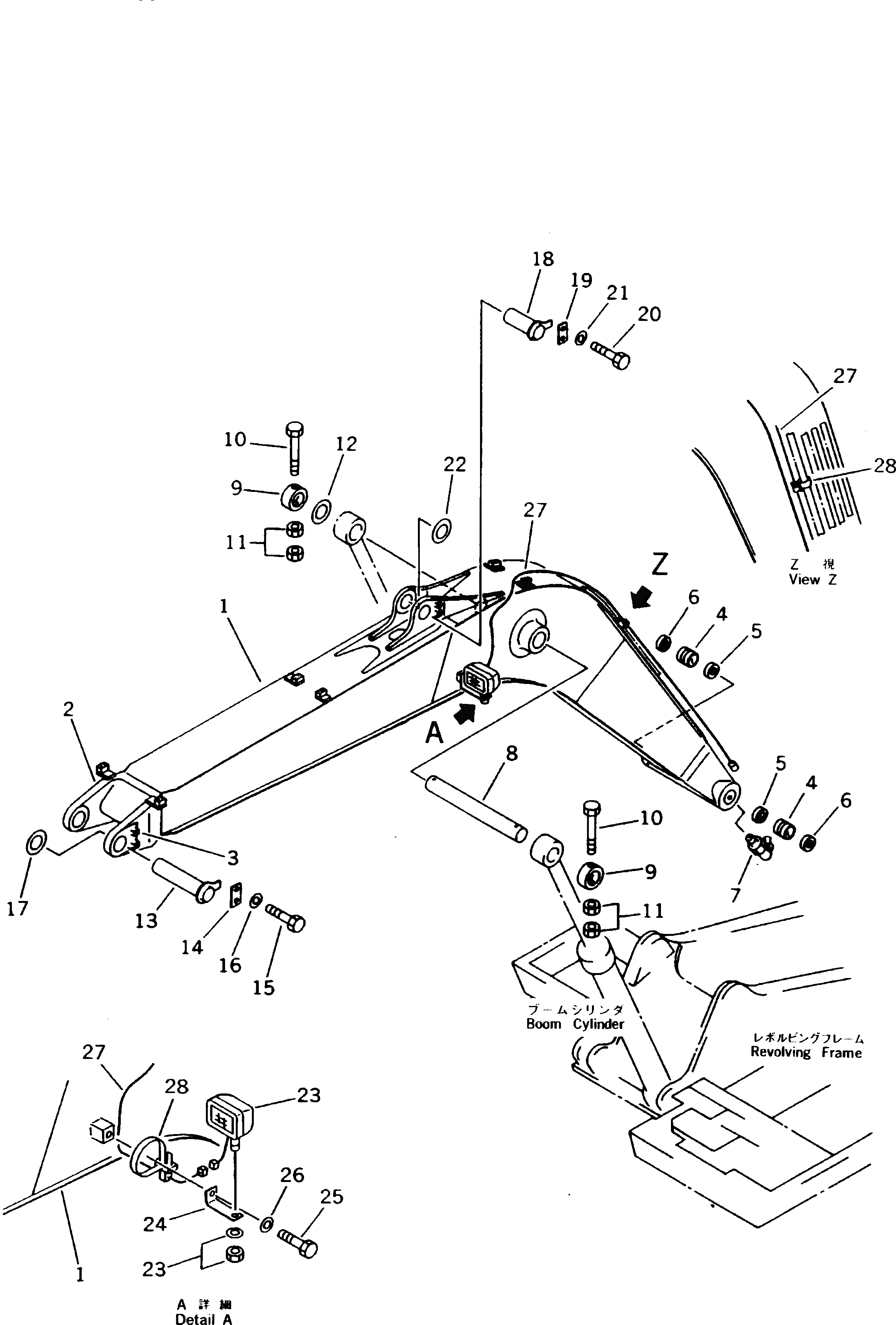
|1

21P-70-00101

BOOM ASS'Y

|1

21P-973-0010

BOOM ASS'Y,(FOR ADD. PIPING)

|1

21P-70-00140

BOOM ASS'Y,(FOR OVER LOAD WARNING DEVICE)

1

BOOM

|1

BOOM,(FOR ADD. PIPING)

|1

BOOM,(FOR OVER LOAD WARNING DEVICE)

2

21P-70-21140

BRACKET (WELDED)

3

566-16-11240

BOSS (WELDED)

4

21K-70-31390

BUSHING

5

07145-00080

SEAL,DUST

6

07145-00080

SEAL,DUST

7

07020-00900

FITTING,GREASE

8

21K-70-31360

PIN

9

21K-70-31330

PLATE

10

01019-11640

BOLT

11

01580-11613

NUT

12

203-70-24170

SPACER¤ 1.0MM

13

21K-70-31170

PIN

14

21K-70-31320

PLATE

15

01010-51235

BOLT

16

01643-31232

WASHER

17

21K-70-31370

SPACER¤ 0.5MM

|17

205-70-51450

SPACER¤ 1.0MM

18

21K-70-21170

PIN

19

203-46-56270

PLATE

20

01010-51230

BOLT

21

01643-31232

WASHER

22

21K-70-22150

SPACER¤ 1.0MM

23

205-06-K1222

WORK LAMP ASS'Y

|23

205-06-K1890

BULB¤ 70W

24

203-06-41130

BRACKET

25

01010-51425

BOLT

26

01643-31445

WASHER

27

203-06-K1340

WIRING HARNESS

28

203-06-56570

BAND

Выбрано товаров: 0