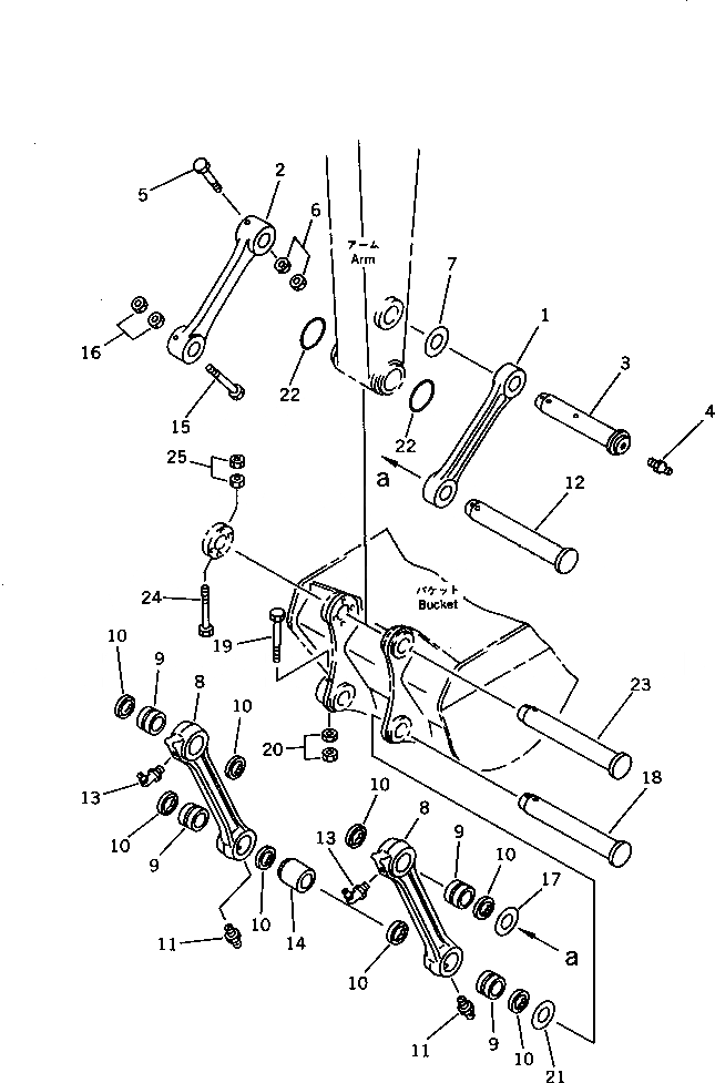
Запчасти Komatsu PC180LLC-5K СОЕДИНЕНИЕ КОВША РАБОЧЕЕ ОБОРУДОВАНИЕ (ЭКСКАВАТ.)

Схема запчастей Komatsu PC180LLC-5K - СОЕДИНЕНИЕ КОВША РАБОЧЕЕ ОБОРУДОВАНИЕ (ЭКСКАВАТ.)
FIT
1:1
100%

Артикул

Название

Примечание

Количество

1

21K-70-23210

LINK

2

21K-70-23110

LINK

3

21K-70-23220

PIN

4

07020-00000

FITTING,GREASE

5

01019-11640

BOLT

6

01580-11613

NUT

7

203-70-24170

SPACER¤ 1.0MM

|8

21K-70-00041

LINK ASS'Y

8

LINK

9

21K-70-13150

BUSHING

10

21K-70-12180

SEAL,DUST

11

07020-00000

FITTING,GREASE

12

21K-70-23190

PIN

13

07020-00900

FITTING,GREASE

14

21K-70-23130

SPACER

15

01019-11640

BOLT

16

01580-11613

NUT

17

203-70-24170

SPACER¤ 1.0MM

18

21K-70-23140

PIN

19

01011-51660

BOLT

20

01580-11613

NUT

21

203-70-24170

SPACER¤ 1.0MM

22

21K-70-23160

O-RING

23

21K-70-23140

PIN

24

01011-51690

BOLT

25

01580-11613

NUT

Выбрано товаров: 0