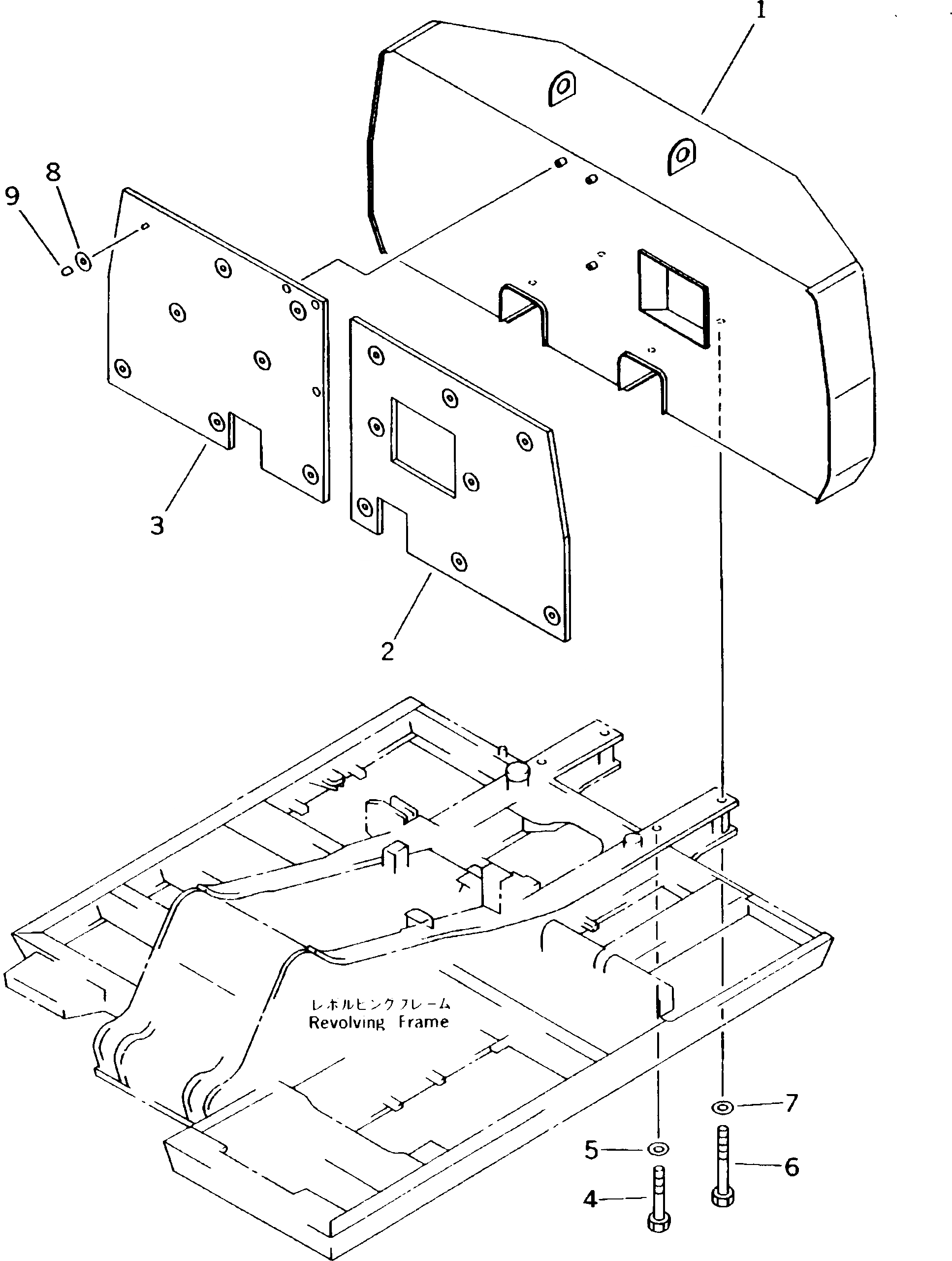
Запчасти Komatsu PC180LLC-5K ПРОТИВОВЕС (ТРЕБ-Я ПО БЕЗОПАСНОСТИ ЕС)(№K9-) СИСТЕМА УПРАВЛЕНИЯ И ОСНОВНАЯ РАМА

Схема запчастей Komatsu PC180LLC-5K - ПРОТИВОВЕС (ТРЕБ-Я ПО БЕЗОПАСНОСТИ ЕС)(№K9-) СИСТЕМА УПРАВЛЕНИЯ И ОСНОВНАЯ РАМА
FIT
1:1
100%

Артикул

Название

Примечание

Количество

1

21P-46-K1112

WEIGHT,COUNTER

2

21K-46-K1110

SHEET

3

21P-46-K1120

SHEET

4

21K-46-31220

BOLT

5

01643-33080

WASHER

6

198-09-31750

BOLT

7

01643-33080

WASHER

8

205-54-K5371

WASHER

9

205-54-K5320

CAP

Выбрано товаров: 9