Качественные детали и логистика
Оригинальные и аналоговые запчасти с доставкой по России, Казахстану и Беларуси
©2022 PartSell ООО "Система" ИНН 2463123282 ОГРН 1212400004838
Центральный офис: г. Красноярск, Академика Киренского, д.87, пом.4
Телефон: 8 (800) 777-65-74 Email: zakaz@partsell.ru
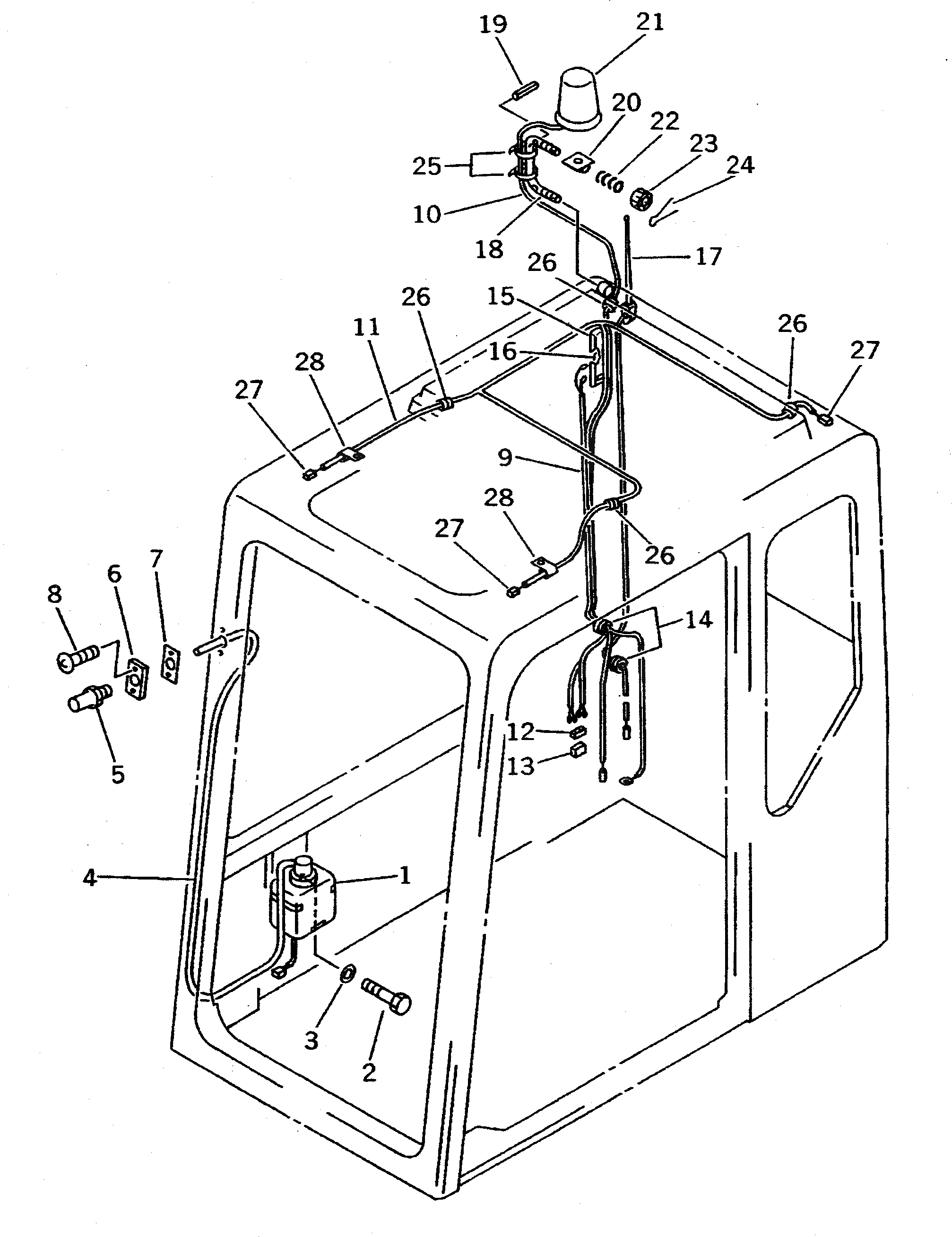
КАБИНА (ОМЫВАТЕЛЬ СТЕКЛА И ЭЛЕКТРИКА) (ДЛЯ PDI) (/)(№K-.)
№
Артикул
Название
Примечание
Количество
|1
20Y-54-K1200
OPERATOR'S CAB ASS'Y
|$$2
THIS ASSEMBLY CONSISTS OF ALL PARTS SHOWN IN FIGS.5211 TO 5216.
1
20Y-54-K2150
WASHER TANK ASS'Y,WITH MOTOR
2
01016-20512
BOLT
3
01641-20508
WASHER
4
20Y-54-K2160
TUBE
5
20Y-54-K2350
NOZZLE
6
20Y-54-K2360
HOLDER
7
20Y-54-K2370
SEAL
8
20Y-54-K2380
SCREW
9
20Y-54-K2170
CABLE
10
20Y-54-K2970
WIRING HARNESS
11
20Y-54-K2960
12
08056-00230
13
08056-00211
BODY
14
20Y-54-K2180
GROMMET
15
20Y-54-K2260
LAMP,ROOM
16
20Y-54-K2630
BULB
17
20Y-54-K2460
ANTENNA
18
20Y-54-K2980
BAR
19
04025-00524
PIN,SPRING
20
20Y-54-K2990
BRACKET
21
20Y-54-K2940
LAMP,BEACON
22
20Y-54-K3110
SPRING
23
01590-31215
NUT
24
04050-13025
PIN,COTTER
25
08034-10310
BAND
26
20Y-54-K3140
GLAND
27
08027-11260
CONNECTOR
28
20Y-54-K2820
CLIP
Выбрано товаров: 0