Качественные детали и логистика
Оригинальные и аналоговые запчасти с доставкой по России, Казахстану и Беларуси
©2022 PartSell ООО "Система" ИНН 2463123282 ОГРН 1212400004838
Центральный офис: г. Красноярск, Академика Киренского, д.87, пом.4
Телефон: 8 (800) 777-65-74 Email: zakaz@partsell.ru
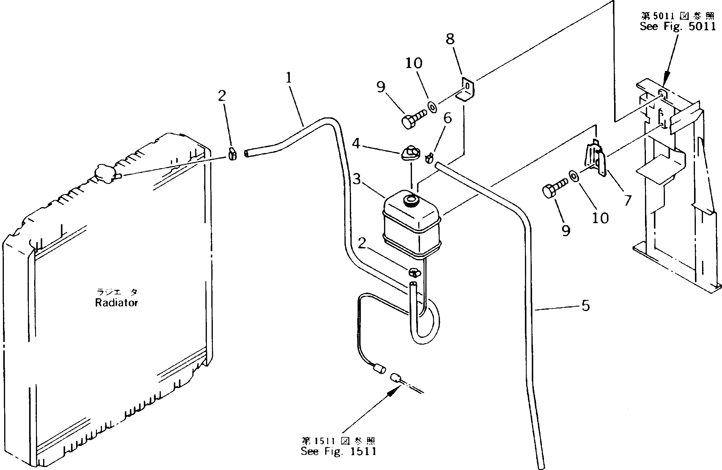
РЕЗЕРВН. БАК И ТРУБЫ
№
Артикул
Название
Примечание
Количество
1
203-03-51370
HOSE
2
07281-00167
CLAMP
3
203-06-56130
TANK,RESERVE
4
203-03-41640
CAP
5
07270-00895
TUBE
6
07285-00095
CLIP
7
203-03-41620
BRACKET
8
203-03-56290
PLATE
9
01010-50616
BOLT
10
01643-30623
WASHER
Выбрано товаров: 0