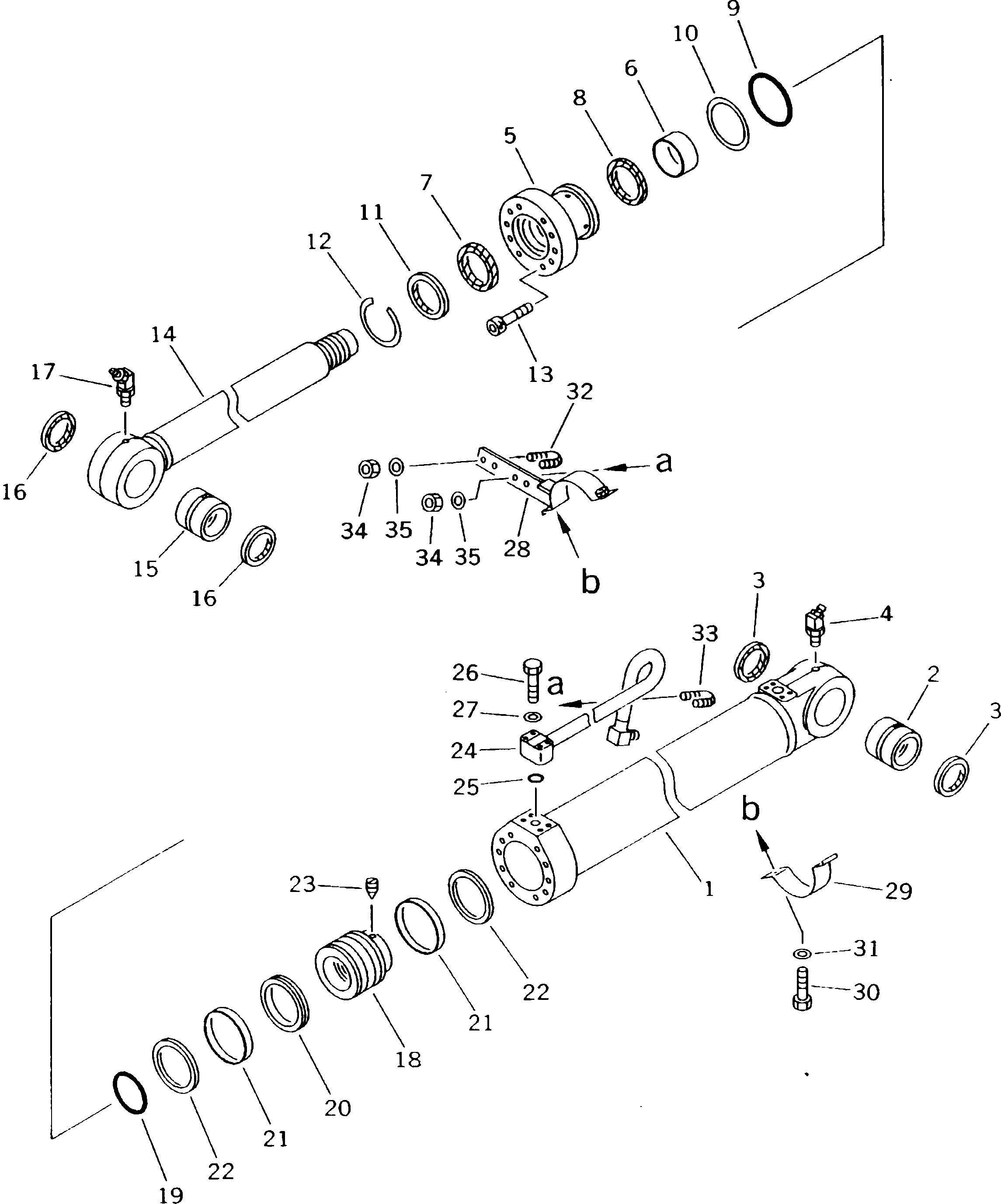
Запчасти Komatsu PC180NLC-5K ЦИЛИНДР СТРЕЛЫ(ДЛЯ СТОПОРН. КЛАПАН) РАБОЧЕЕ ОБОРУДОВАНИЕ (ЭКСКАВАТ.)

Схема запчастей Komatsu PC180NLC-5K - ЦИЛИНДР СТРЕЛЫ(ДЛЯ СТОПОРН. КЛАПАН) РАБОЧЕЕ ОБОРУДОВАНИЕ (ЭКСКАВАТ.)
FIT
1:1
100%

Артикул

Название

Примечание

Количество

|1

21P-63-K1610

CYLINDER ASS'Y,BOOM

1

21P-63-K1620

CYLINDER

2

707-76-70040

BUSHING

3

07145-00070

SEAL,DUST

4

203-63-K2370

FITTING,GREASE

5

21P-63-K1650

HEAD,CYLINDER

6

707-52-90500

BUSHING

7

707-51-75030

PACKING,ROD

8

707-51-75630

RING,BUFFER

9

21P-63-K1670

O-RING

10

21P-63-K1660

RING,BACK-UP

11

144-63-94170

SEAL,DUST

12

203-63-K2090

RING,SNAP

13

203-63-K2120

BOLT

14

21P-63-K1640

ROD,PISTON

15

707-76-70040

BUSHING

16

07145-00070

SEAL,DUST

17

203-63-K2370

FITTING,GREASE

18

21P-63-K1680

PISTON

19

21P-63-K1690

O-RING

20

707-44-11180

RING,PISTON

21

707-39-11110

RING,WEAR

22

707-44-11911

RING

23

203-63-K2050

SCREW,SET

24

21P-63-K1920

TUBE,L.H.

|24

21P-63-K1890

TUBE,R.H.

25

07000-13025

O-RING

26

203-63-K2240

BOLT

27

203-63-K2440

WASHER

28

21P-63-K1940

BRACKET,L.H.

|28

21P-63-K1930

BRACKET,R.H.

29

21P-63-K1950

BAND

30

203-63-K2450

BOLT

31

203-63-K2230

WASHER

32

21P-63-K1960

CLIP

33

203-63-K2190

CLIP

34

203-63-K2790

NUT

35

203-63-K2230

WASHER

Выбрано товаров: 38