Запчасти Komatsu PC180NLC-5K ГЛУШИТЕЛЬ И ТРУБЫ(№K-K9) КОМПОНЕНТЫ ДВИГАТЕЛЯ И ЭЛЕКТРИКА

Схема запчастей Komatsu PC180NLC-5K - ГЛУШИТЕЛЬ И ТРУБЫ(№K-K9) КОМПОНЕНТЫ ДВИГАТЕЛЯ И ЭЛЕКТРИКА
FIT
1:1
100%

Артикул

Название

Примечание

Количество

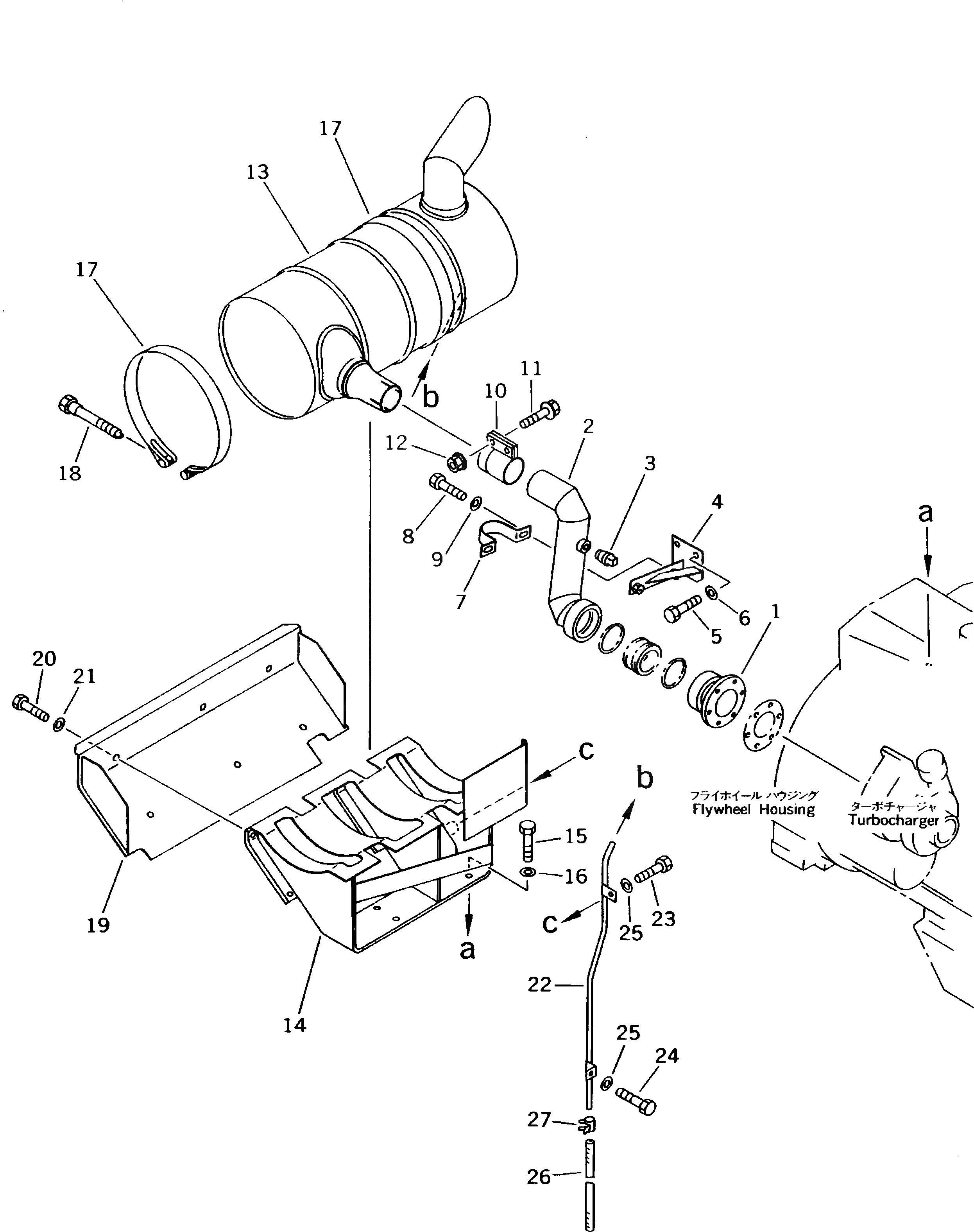
1

21P-01-21521

PIPE

2

21P-01-21641

PIPE

3

07042-00108

PLUG

4

21P-01-21590

BRACKET

5

01010-51020

BOLT

6

01643-31032

WASHER

7

21P-01-21580

CLAMP

8

01010-51025

BOLT

9

01643-31032

WASHER

10

6206-11-5910

CLAMP

11

01435-01235

BOLT

12

01584-01210

NUT

13

6207-11-5280

MUFFLER

14

21P-01-21611

BRACKET

15

01010-51230

BOLT

16

01643-31232

WASHER

17

6150-11-5840

BAND ASS'Y

18

6643-11-4641

BOLT

19

21P-01-21620

BRACKET

20

01010-51020

BOLT

21

203-54-56970

WASHER

22

21P-01-21630

PIPE

23

01010-51020

BOLT

24

01010-51035

BOLT

25

01643-31032

WASHER

26

07260-20920

HOSE

27

07285-00150

CLIP

Выбрано товаров: 27