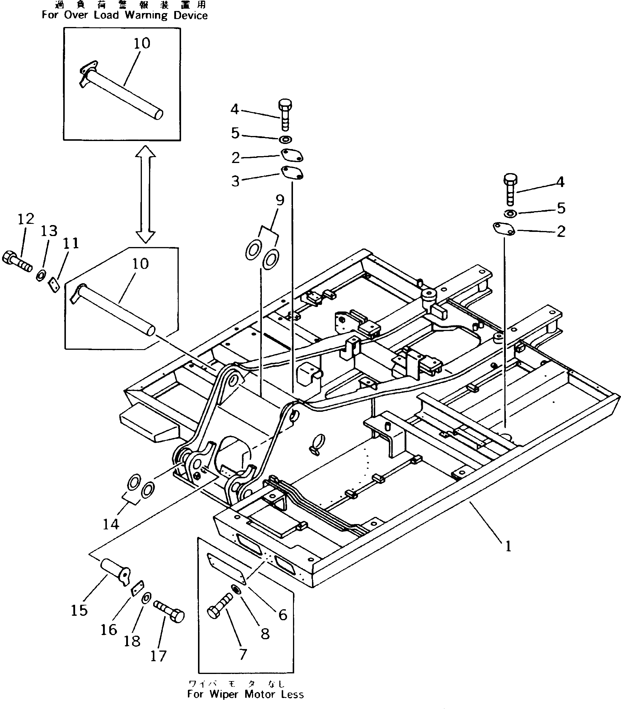
Запчасти Komatsu PC180NLC-5K ОСНОВНАЯ РАМА (С ДВОРНИКИ МОТОР) СИСТЕМА УПРАВЛЕНИЯ И ОСНОВНАЯ РАМА

Схема запчастей Komatsu PC180NLC-5K - ОСНОВНАЯ РАМА (С ДВОРНИКИ МОТОР) СИСТЕМА УПРАВЛЕНИЯ И ОСНОВНАЯ РАМА
FIT
1:1
100%

Артикул

Название

Примечание

Количество

1

203-46-K1501

FRAME,REVOLVING

|1

203-46-K1500

FRAME,REVOLVING

|1

21P-46-21141

FRAME,REVOLVING

2

203-46-56160

COVER

3

203-46-31181

GASKET

4

01010-51230

BOLT

5

01643-31232

WASHER

6

203-06-59530

PLATE,(FOR WIPER LESS)

7

01010-51020

BOLT,(FOR WIPER LESS)

8

01643-31032

WASHER,(FOR WIPER LESS)

9

21K-70-31370

SPACER¤ 0.5MM

|9

205-70-51450

SPACER¤ 1.0MM

10

21K-70-31310

PIN

|10

21P-70-12610

PIN,(FOR OVER LOAD WARNING DEVICE)

11

21K-70-31320

PLATE

12

01010-51235

BOLT

13

01643-31232

WASHER

14

203-70-41460

SPACER¤ 1.0MM

|14

203-70-41470

SPACER¤ 2.0MM

15

203-46-56260

PIN

16

203-46-56270

PLATE

17

01010-51230

BOLT

18

01643-31232

WASHER

Выбрано товаров: 23