Запчасти Komatsu PC180NLC-5K ПРАВ. СТОЙКА¤ ЗАДН. ЧАСТИ КОРПУСА

Схема запчастей Komatsu PC180NLC-5K - ПРАВ. СТОЙКА¤ ЗАДН. ЧАСТИ КОРПУСА
FIT
1:1
100%

Артикул

Название

Примечание

Количество

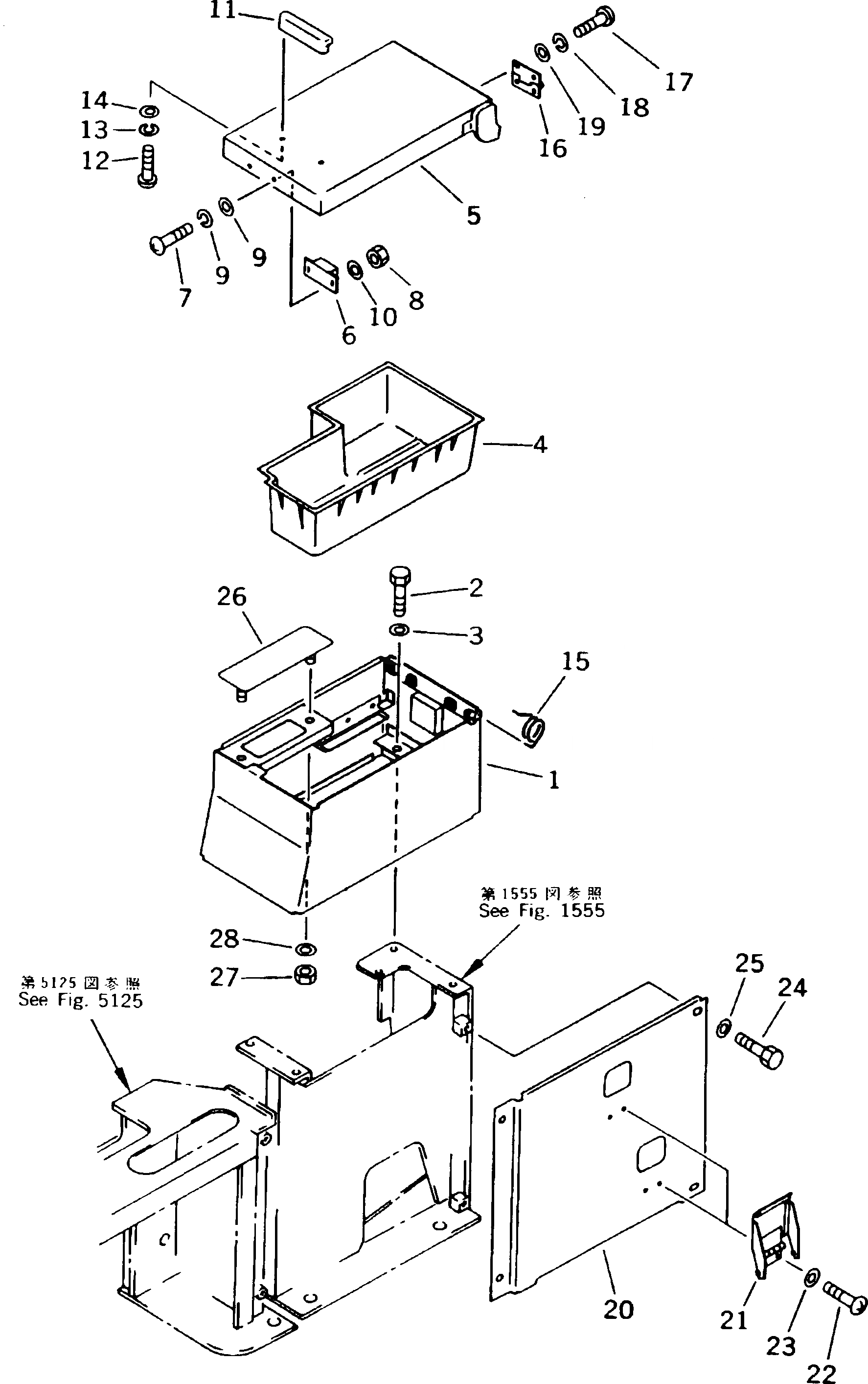
1

20Y-06-K1460

BOX

2

01010-50816

BOLT

3

01643-30823

WASHER

4

20Y-06-K1110

TRAY

5

20Y-06-K1140

COVER

6

09452-14503

CATCHER

7

01220-40310

SCREW

8

01580-10302

NUT

9

01601-20307

WASHER,SPRING

10

01641-20305

WASHER

11

20Y-06-16330

HANDLE

12

01220-40510

SCREW

13

01601-20513

WASHER,SPRING

14

01641-20508

WASHER

15

20Y-43-K1260

SPRING

16

20Y-06-K1150

HINGE

17

01220-40510

SCREW

18

01601-20513

WASHER,SPRING

19

01641-20508

WASHER

20

20Y-06-16271

COVER

21

20Y-43-16250

COVER

22

01220-40408

SCREW

23

01641-20405

WASHER

24

01010-50820

BOLT

25

01643-30823

WASHER

26

203-06-59310

COVER

27

01580-10605

NUT

28

01643-30623

WASHER

Выбрано товаров: 28