Запчасти Komatsu PC180NLC-6K ТОПЛИВН. БАК.(№K-K999) ТОПЛИВН. БАК. AND КОМПОНЕНТЫ

Схема запчастей Komatsu PC180NLC-6K - ТОПЛИВН. БАК.(№K-K999) ТОПЛИВН. БАК. AND КОМПОНЕНТЫ
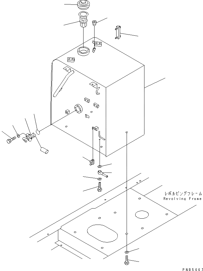
1
2
3
4
5
6
7
8
9
10
11
11
12
13
14
15
FIT
1:1
100%

Артикул

Название

Примечание

Количество

|1

21P-04-K1100

TANK ASS'Y,FUEL

1

TANK

2

205-04-71140

STRAINER

3

20Y-04-11160

CAP

|3

20Y-04-11240

PACKING

4

21S-04-11151

GAUGE,LEVEL

5

20Y-04-11130

VALVE

6

7861-92-5810

SENSOR,FUEL

7

07000-03050

O-RING

8

01010-50612

BOLT

9

01643-30623

WASHER

10

21P-04-K1110

TUBE

11

07005-01212

GASKET

12

07206-30812

BOLT,JOINT

13

01010-51635

BOLT

14

01643-31645

WASHER

15

07043-70211

PLUG

Выбрано товаров: 0