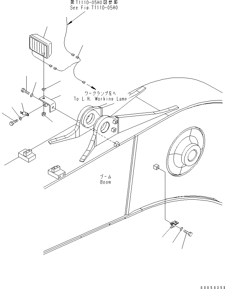
Запчасти Komatsu PC180NLC-7-E0 ДОПОЛН. РАБОЧ. ОСВЕЩЕНИЕ (СТРЕЛА¤ ПРАВ.) ЭЛЕКТРИКА

Схема запчастей Komatsu PC180NLC-7-E0 - ДОПОЛН. РАБОЧ. ОСВЕЩЕНИЕ (СТРЕЛА¤ ПРАВ.) ЭЛЕКТРИКА
1
1
1
2
3
4
5
6
7
8
9
10
11
FIT
1:1
100%

Артикул

Название

Примечание

Количество

1

20Y-06-K2760

WORK LAMP ASS'Y

2

20Y-06-21551

BRACKET

3

01010-81230

BOLT

4

01643-31232

WASHER

5

08193-21012

CLIP

6

01010-81220

BOLT

7

01643-31232

WASHER

8

21K-06-72350

WIRING HARNESS

9

01010-81220

BOLT

10

01643-31232

WASHER

11

20Y-06-48260

BRACKET

Выбрано товаров: 11