Качественные детали и логистика
Оригинальные и аналоговые запчасти с доставкой по России, Казахстану и Беларуси
©2022 PartSell ООО "Система" ИНН 2463123282 ОГРН 1212400004838
Центральный офис: г. Красноярск, Академика Киренского, д.87, пом.4
Телефон: 8 (800) 777-65-74 Email: zakaz@partsell.ru
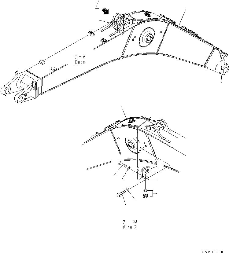
ДОПОЛН. РАБОЧ. ОСВЕЩЕНИЕ (СТРЕЛА ПРАВ.)
№
Артикул
Название
Примечание
Количество
1
207-06-K1520
WORK LAMP ASS'Y
2
20Y-06-21551
BRACKET
3
01010-81230
BOLT
4
01643-31232
WASHER
5
01010-81220
6
7
21K-06-71331
WIRING HARNESS
Выбрано товаров: 0