Запчасти Komatsu PC190LC-8 КАБИНА, 2-СЕКЦИОНН. СТРЕЛА, КАБИНА IN ЧАСТИ, ПЕРЕГОРОДКА. И ФИЛЬТР., С КОНДИЦИОНЕРОМ КАБИНА, 2-СЕКЦИОНН. СТРЕЛА

Схема запчастей Komatsu PC190LC-8 - КАБИНА, 2-СЕКЦИОНН. СТРЕЛА, КАБИНА IN ЧАСТИ, ПЕРЕГОРОДКА. И ФИЛЬТР., С КОНДИЦИОНЕРОМ КАБИНА, 2-СЕКЦИОНН. СТРЕЛА
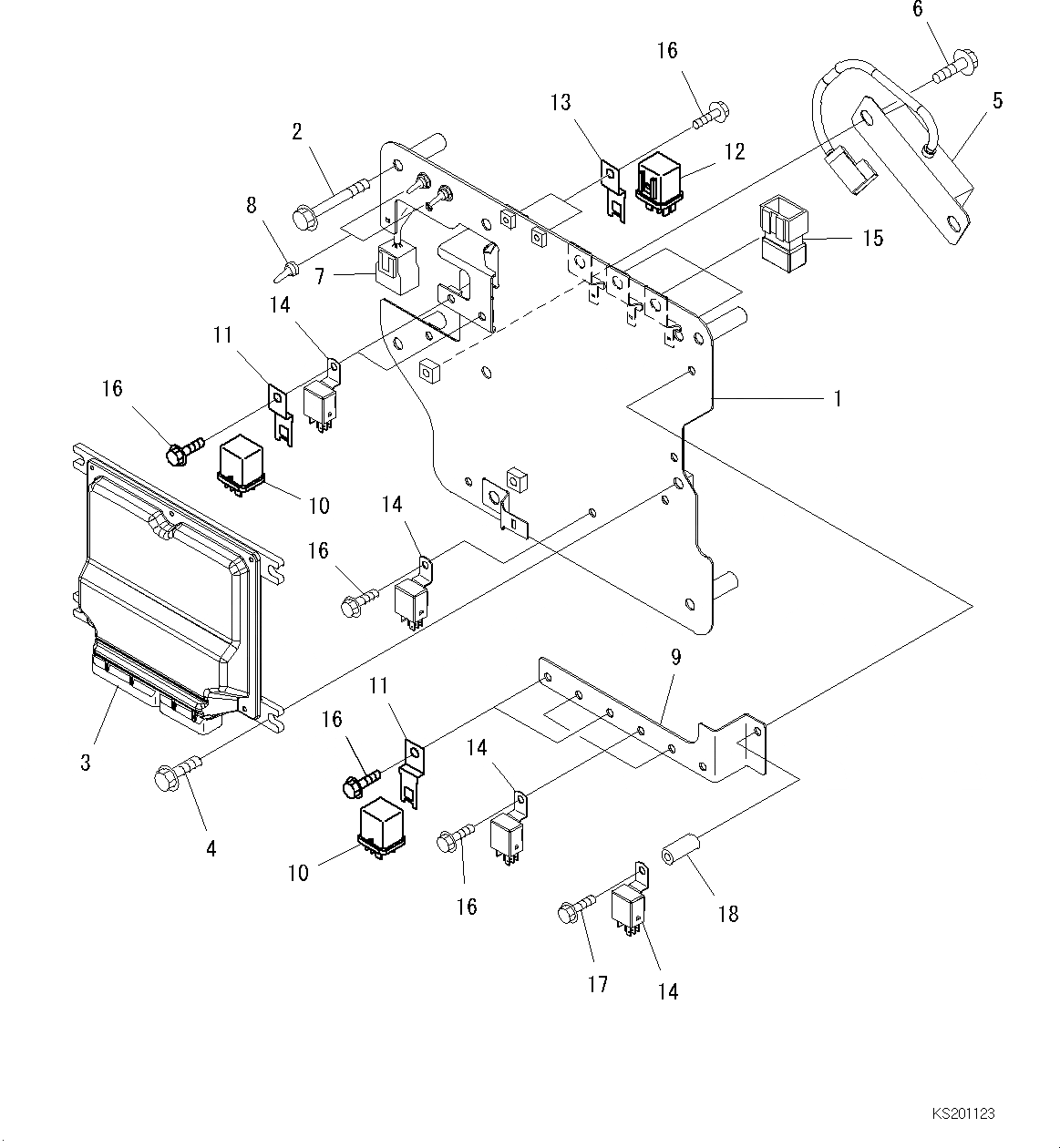
1
2
5
4
3
6
8
9
10
11
12
13
14
15
7
16
17
18
FIT
1:1
100%

Артикул

Название

Примечание

Количество

1

20Y-53-18494

Bracket

|1

20Y-53-18493

Bracket

2

20Y-53-11870

Seal

3

20Y-53-11880

Seal

4

208-53-11890

Seal

5

208-53-12230

Seal

6

01435-40820

Bolt

7

418-54-35450

Washer

8

20Y-53-12781

Plate

9

20Y-53-12751

Seal

10

20Y-53-12760

Seal

11

01435-40820

Bolt

12

208-979-7530

Holder

13

208-979-7620

Filter

14

20Y-54-65790

Bolt

15

20Y-54-65690

Washer

16

208-53-12551

Duct

17

01010-D0820

Bolt

18

01643-70823

Washer

Выбрано товаров: 19