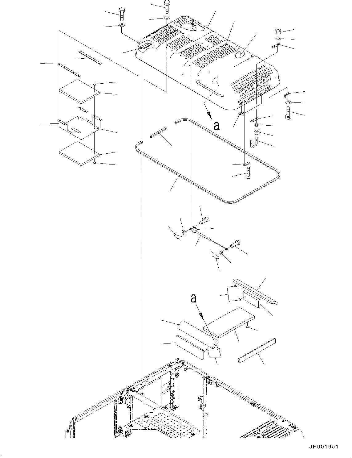
Запчасти Komatsu PC190LC-8 КАПОТ КАПОТ

Схема запчастей Komatsu PC190LC-8 - КАПОТ КАПОТ
5
7
6
33
34
6
7
8
22
22
22
1
4
3
2
9
10
13
14
15
16
17
18
19
20
21
22
23
24
25
27
28
29
30
31
32
35
36
27
28
22
37
38
32
8
11
12
26
FIT
1:1
100%

Артикул

Название

Примечание

Количество

1

21K-54-73112

Hood

2

20Y-54-K7321

Hinge,Welded

3

20Y-54-71460

Stud,Welded

4

124-A62-1910

Stud,Welded

5

20Y-54-27172

Bolt, U

6

20Y-54-27330

Plate

7

01580-11210

Nut

8

01643-31232

Washer

9

20Y-54-71181

Damper

10

04205-30825

Pin

11

01640-20816

Washer, Flat

12

04052-20833

Pin, Snap

13

04205-30828

Pin

14

01640-20816

Washer, Flat

15

04052-20833

Pin, Snap

16

21K-54-73151

Sheet

17

21K-54-73160

Sheet

18

20Y-54-72881

Sheet

19

20Y-54-72141

Sheet

20

21K-54-73140

Sheet

21

206-54-21151

Sheet

22

124-A62-1920

Cap

23

20Y-54-71470

Seal

24

20Y-54-71480

Seal

25

21K-54-73121

Plate

|25

21K-54-73120

Plate

26

124-A62-1910

Stud

27

21K-54-73132

Sheet

28

20Y-54-71780

Plate

29

01010-D0820

Bolt

30

01643-70823

Washer

31

08034-20414

Band

32

20Y-54-27182

Bracket

33

205-54-68440

Plate

34

01224-40616

Screw, Philips Head

35

01010-81020

Bolt

36

01643-31032

Washer

37

01010-81230

Bolt

38

01643-31232

Washer

Выбрано товаров: 39