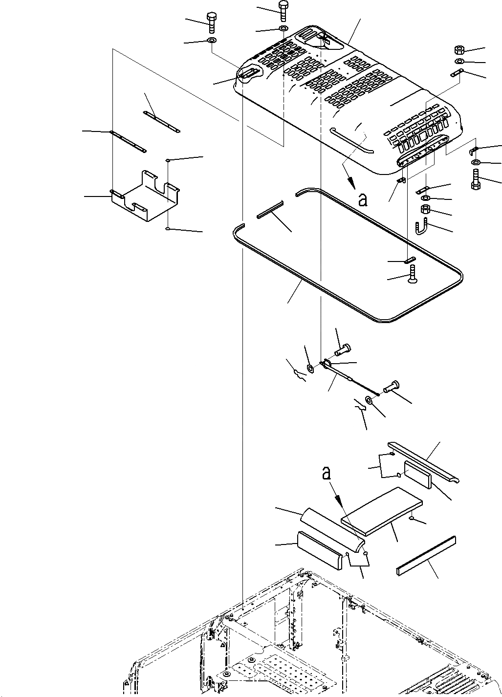
Запчасти Komatsu PC195LC-8 КАПОТ M

Схема запчастей Komatsu PC195LC-8 - КАПОТ M
31
25
1
21
10
33
11
12
13
26
14
34
5
19
15
16
18
17
6
4
24
2
24
28
20
32
4
23
6
28
5
20
3
22
29
30
8
9
27
7
20
20
20
FIT
1:1
100%

Артикул

Название

Примечание

Количество

1

21K-54-73112

HOOD

2

20Y-54-K7321

HINGE (WELDED)

3

20Y-54-27172

U-BOLT

4

20Y-54-27330

PLATE

5

01580-11210

NUT

6

01643-31232

WASHER

7

20Y-54-71182

DAMPER, GAS

8

04205-30825

PIN

9

01640-20816

WASHER

10

04052-20833

PIN

11

04205-30828

PIN

12

01640-20816

WASHER

13

04052-20833

PIN

14

21K-54-73151

SHEET

15

21K-54-73160

SHEET

16

20Y-54-72881

SHEET

17

20Y-54-72141

SHEET

18

21K-54-73140

SHEET

19

206-54-21152

SHEET

20

124-A6-21920

CAP

21

20Y-54-71470

SEAL

22

20Y-54-71480

SEAL

23

21K-54-73121

PLATE

24

20Y-54-71780

PLATE

25

01010-D0820

BOLT

26

01643-70823

WASHER

27

08034-20414

BAND

28

20Y-54-27182

BRACKET

29

205-54-68440

PLATE

30

01224-40616

SCREW

31

01010-81020

BOLT

32

01643-31032

WASHER

33

01010-81230

BOLT

34

01643-31232

WASHER

Выбрано товаров: 34