Запчасти Komatsu PC20-3 ЭЛЕКТРИКА (/) (СПЕЦ-Я TBG) ОПЦИОННЫЕ КОМПОНЕНТЫ

Схема запчастей Komatsu PC20-3 - ЭЛЕКТРИКА (/) (СПЕЦ-Я TBG) ОПЦИОННЫЕ КОМПОНЕНТЫ
FIT
1:1
100%

Артикул

Название

Примечание

Количество

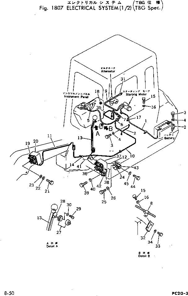
1

20S-06-13220

WIRE

2

20R-06-11240

WIRE

3

01010-31016

BOLT

4

01642-21016

WASHER

5

20S-06-14240

WIRE ASS'Y

6

08037-03620

GROMMET

7

08036-01414

CLIP

8

08036-01814

CLIP

9

20S-06-13140

WIRE ASS'Y

10

20S-06-14141

WIRE ASS'Y

11

20R-06-23110

WIRE

12

20S-06-14210

WIRE ASS'Y

13

20S-06-13190

WIRE

14

08036-10810

CLIP

15

01010-31016

BOLT

16

01602-01030

WASHER,SPRING

17

08036-02514

CLIP

18

08037-02512

GROMMET

19

08125-01200

LAMP ASS'Y

20

20S-06-14110

COVER

21

01010-31025

BOLT

22

01602-01030

WASHER,SPRING

23

01643-31032

WASHER,HORN

24

08160-41200

HORN

25

01010-30816

BOLT

26

01602-00825

WASHER,SPRING

27

20N-06-11230

SWITCH

28

20S-06-13110

SEAT

29

01220-40316

SCREW

30

01601-20307

WASHER

31

198-06-11940

SENSOR

32

20S-06-11140

BRACKET

33

01010-31020

BOLT

34

01602-01030

WASHER,SPRING

35

20S-06-13210

WIRE

36

08125-01200

LAMP ASS'Y,HEAD

37

20S-06-14110

COVER

38

20S-06-14120

BRACKET

39

01010-31225

BOLT

40

01602-01236

WASHER,SPRING

41

20S-06-14150

WIRE ASS'Y

42

130-06-14270

GROMMET

43

20R-06-23120

BRACKET

44

01010-51020

BOLT

45

01602-21030

WASHER,SPRING

Выбрано товаров: 45