Запчасти Komatsu PC20-3 ОСНОВНАЯ РАМА ОСНОВНАЯ РАМА И КАБИНА

Схема запчастей Komatsu PC20-3 - ОСНОВНАЯ РАМА ОСНОВНАЯ РАМА И КАБИНА
FIT
1:1
100%

Артикул

Название

Примечание

Количество

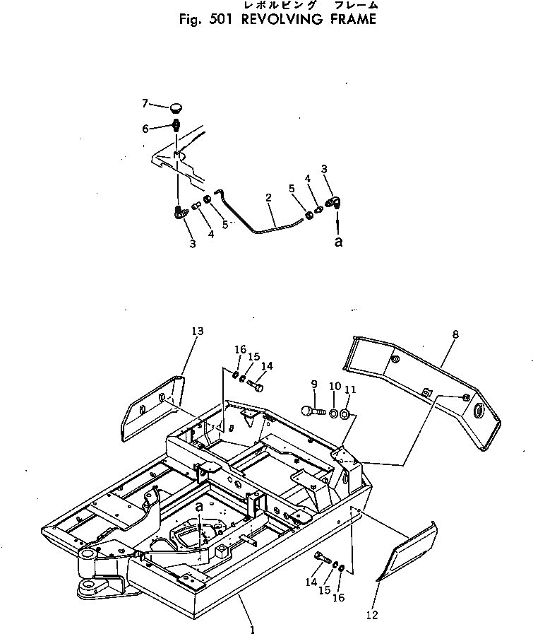
1

20R-46-21300

FRAME,REVOLVING

2

20R-46-11210

TUBE

3

20R-46-11150

ELBOW

4

07831-00411

SLEEVE

5

07832-00410

NUT,SLEEVE

6

07020-00000

FITTING,GREASE

7

20X-46-11170

CAP

8

20R-46-21410

BUMPER

9

01010-51225

BOLT

10

01643-31232

WASHER

11

202-54-11281

WASHER

12

20R-46-21220

BUMPER,L.H.

13

20R-46-21230

BUMPER,R.H.

14

01010-51025

BOLT

15

01602-21030

WASHER,SPRING

16

01643-31032

WASHER

Выбрано товаров: 16