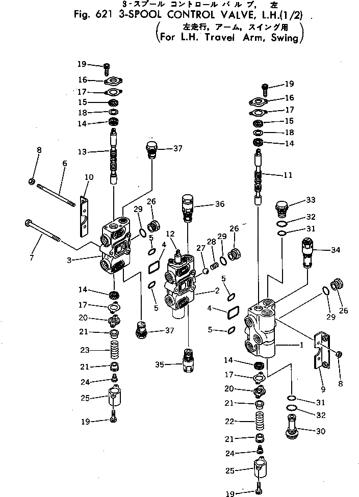
Запчасти Komatsu PC20-3 3-Х СЕКЦИОНН. КОНТРОЛЬН. КЛАПАН¤ЛЕВ.(/)(ДЛЯ ЛЕВ. ХОД¤ РУКОЯТЬ¤ ПОВОРОТН.) ГИДРАВЛИКА

Схема запчастей Komatsu PC20-3 - 3-Х СЕКЦИОНН. КОНТРОЛЬН. КЛАПАН¤ЛЕВ.(/)(ДЛЯ ЛЕВ. ХОД¤ РУКОЯТЬ¤ ПОВОРОТН.) ГИДРАВЛИКА
FIT
1:1
100%

Артикул

Название

Примечание

Количество

|$0

700-23-36001

VALVE ASS'Y,L.H.

1

BODY

2

BLOCK

3

COVER

4

07000-13040

O-RING

5

700-22-11450

O-RING

6

700-23-13110

STUD

7

700-23-13140

BOLT

8

01580-10806

NUT

9

700-26-11170

ANGLE

10

700-22-11220

ANGLE

11

SPOOL,TRAVEL, L.H.

12

SPOOL,ARM

13

SPOOL,SWING

14

700-22-11252

U-PACKING

15

700-22-11261

SEAL,DUST

16

700-22-11270

PLATE

17

700-22-11420

GASKET

18

700-22-11430

COLLAR

19

01252-30616

BOLT

20

700-22-11281

PLATE

21

700-22-11290

RETAINER

22

700-22-11311

SPRING

23

700-23-13130

SPRING

24

700-22-11320

PLUG

25

700-22-11331

COVER

26

700-22-11351

PLUG

27

700-22-12340

BALL

28

700-22-12350

SPRING

29

07002-12434

O-RING

30

700-26-11150

PLUG

31

07000-12014

O-RING

32

07002-02434

O-RING

33

700-22-11360

PLUG

34

700-22-51001

VALVE ASS'Y

35

700-20-68000

VALVE ASS'Y,ARM

36

700-20-66001

VALVE ASS'Y,ARM

37

700-20-81000

VALVE ASS'Y,SWING

Выбрано товаров: 38