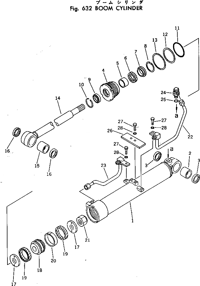
Запчасти Komatsu PC20-3 ЦИЛИНДР СТРЕЛЫ ГИДРАВЛИКА

Схема запчастей Komatsu PC20-3 - ЦИЛИНДР СТРЕЛЫ ГИДРАВЛИКА
FIT
1:1
100%

Артикул

Название

Примечание

Количество

|$0

20R-63-56107

CYLINDER ASS'Y

1

20R-63-56143

CYLINDER

2

07143-10404

BUSHING

3

07145-00040

SEAL,DUST

4

707-29-80011

HEAD,CYLINDER

5

07177-04025

BUSHING

6

707-51-40110

PACKING,ROD

7

707-57-40011

RETAINER

8

04065-06020

RING,SNAP

9

198-63-75190

SEAL,DUST

10

07179-00059

RING,SNAP

11

07000-12085

O-RING

12

07001-02085

RING,BACK-UP

13

707-45-80010

LOCK

14

20R-63-56120

ROD,PISTON

15

07143-10404

BUSHING

16

07145-00040

SEAL,DUST

17

111-63-99330

RETAINER

18

10E-63-56170

PISTON

19

707-42-80012

PACKING,PISTON

20

07155-00820

RING,WEAR

21

07165-13033

NUT,NYLON

22

20R-63-56172

TUBE

23

20R-63-56182

TUBE

24

07235-10315

ELBOW

25

07002-12034

O-RING

26

20R-63-56192

PLATE

27

01010-51020

BOLT

28

01605-11023

WASHER

Выбрано товаров: 0