Запчасти Komatsu PC20-3 ЦИЛИНДР КОВША ГИДРАВЛИКА

Схема запчастей Komatsu PC20-3 - ЦИЛИНДР КОВША ГИДРАВЛИКА
FIT
1:1
100%

Артикул

Название

Примечание

Количество

|$0

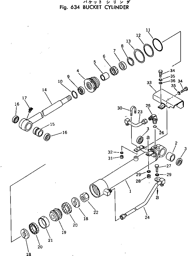
20R-63-76300

CYLINDER ASS'Y

1

20R-63-76340

CYLINDER

2

07143-10304

BUSHING

3

07145-00035

SEAL,DUST

4

707-29-70020

HEAD,CYLINDER

5

07177-03525

BUSHING

6

707-51-35110

PACKING,ROD

7

707-57-35020

RETAINER

8

04065-05220

RING,SNAP

9

175-63-75190

SEAL,DUST

10

07179-00054

RING,SNAP

11

07000-12075

O-RING

12

07001-02075

RING,BACK-UP

13

707-45-70010

WASHER

14

20R-63-76320

ROD,PISTON

15

07144-10304

BUSHING

16

07145-00035

SEAL,DUST

17

07020-00675

FITTING,GREASE

18

10E-63-66280

RETAINER

19

10E-63-66170

PISTON

20

707-42-70012

PACKING,PISTON

21

07155-00720

RING,WEAR

22

07165-12729

NUT,NYLON

23

20R-63-76180

TUBE

24

20R-63-76370

TUBE

25

07235-10315

ELBOW

26

07002-12034

O-RING

27

01010-51020

BOLT

28

01580-11008

NUT

29

01605-11023

WASHER

30

07283-11529

CLIP

31

01598-00809

NUT

32

01643-30823

WASHER

33

20N-63-76290

GUARD

34

01010-51020

BOLT

35

01602-21030

WASHER,SPRING

36

01643-31032

WASHER

Выбрано товаров: 37