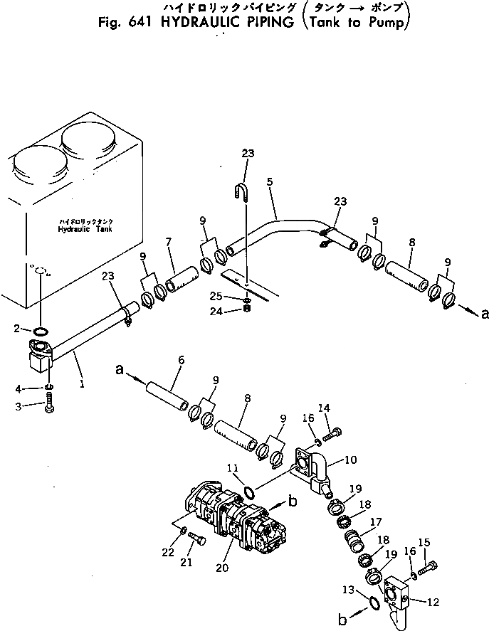
Запчасти Komatsu PC20-3 ГИДРОЛИНИЯ (ИЗ БАКА В НАСОС) ГИДРАВЛИКА

Схема запчастей Komatsu PC20-3 - ГИДРОЛИНИЯ (ИЗ БАКА В НАСОС) ГИДРАВЛИКА
FIT
1:1
100%

Артикул

Название

Примечание

Количество

1

20S-62-11210

TUBE

2

07000-03045

O-RING

3

01010-51235

BOLT

4

01602-21236

WASHER,SPRING

5

20S-62-11220

TUBE

6

20S-62-15110

TUBE

7

07260-04113

HOSE

8

07260-04118

HOSE

9

07281-00609

CLAMP

10

20S-62-15191

TUBE

11

07000-03045

O-RING

12

20S-62-15221

TUBE

13

07000-03048

O-RING

14

01010-51235

BOLT

15

01010-51255

BOLT

16

01602-21236

WASHER,SPRING

17

07332-00600

COUPLING ASS'Y

18

07332-50600

GASKET

19

07332-60600

CLAMP

20

705-56-14000

PUMP ASS'Y

21

01010-51235

BOLT

22

01643-31232

WASHER

23

07283-24346

CLIP

24

01599-01011

NUT

25

01643-31032

WASHER

Выбрано товаров: 25