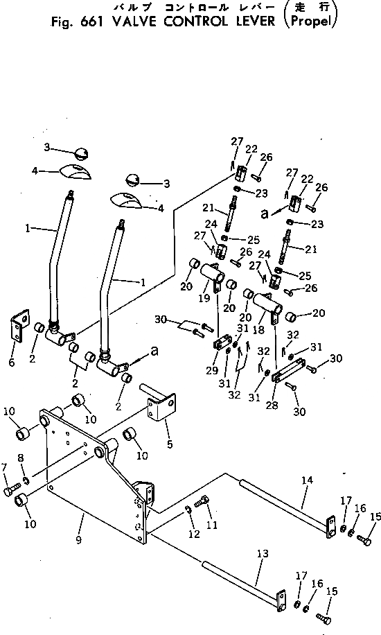
Запчасти Komatsu PC20-3 КЛАПАН РЫЧАГ УПРАВЛ-Я (ХОД) ГИДРАВЛИКА

Схема запчастей Komatsu PC20-3 - КЛАПАН РЫЧАГ УПРАВЛ-Я (ХОД) ГИДРАВЛИКА
FIT
1:1
100%

Артикул

Название

Примечание

Количество

|$0

20S-43-00010

LEVER ASS'Y,L.H.

|$1

20S-43-00020

LEVER ASS'Y,R.H.

1

LEVER,L.H.

1

LEVER,R.H.

2

09350-02220

BUSHING

3

20R-43-11280

KNOB

4

20S-43-11230

COVER

5

20S-43-11260

SHAFT

6

20S-03-11270

COLLAR

7

01010-31030

BOLT

8

01602-01030

WASHER,SPRING

|$11

20S-43-00130

BRACKET ASS'Y

9

BRACKET

10

09350-02225

BUSHING

11

01010-31030

BOLT

12

01602-01030

WASHER,SPRING

13

20S-43-11290

SHAFT

14

20S-43-11310

SHAFT

15

01010-31025

BOLT

16

01602-01030

WASHER,SPRING

16

01643-31032

WASHER

17

20S-43-00030

LEVER ASS'Y,L.H.

17

20S-43-00040

LEVER ASS'Y,R.H.

18

LEVER,L.H.

19

LEVER,R.H.

20

09350-02220

BUSHING

21

04248-30811

ROD

22

04210-20832

YOKE

23

01580-10806

NUT

24

04220-20832

YOKE,L.H. THREAD

25

01508-20805

NUT,L.H. THREAD

26

04205-10822

PIN

27

04050-12012

PIN,COTTER

28

20S-43-11340

YOKE

29

20S-43-11350

YOKE

30

04205-10622

PIN

31

01641-20608

WASHER

32

04050-11610

PIN,COTTER

Выбрано товаров: 38