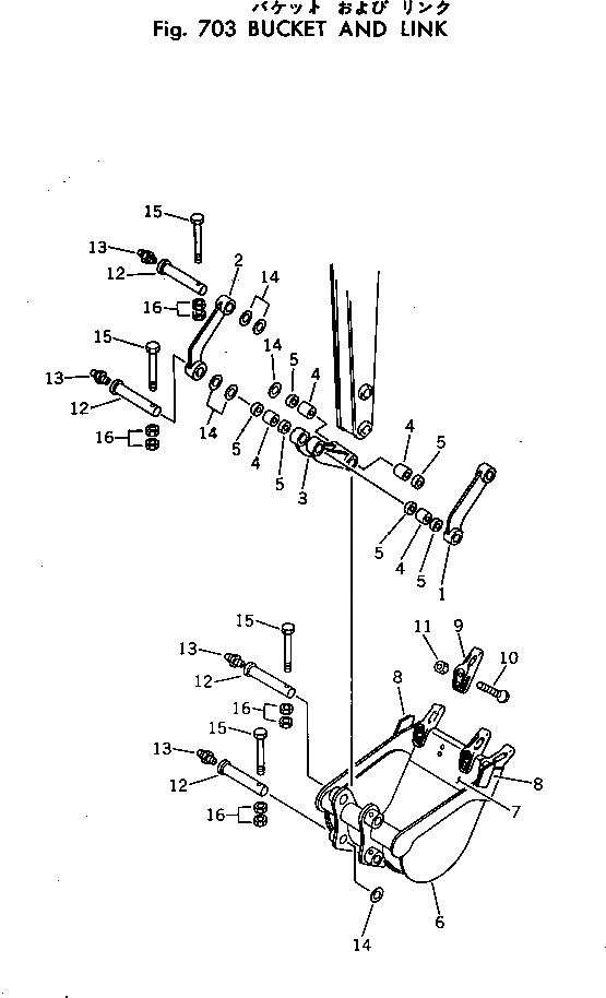
Запчасти Komatsu PC20-3 КОВШ И СОЕДИНИТЕЛЬН. ЗВЕНО РАБОЧЕЕ ОБОРУДОВАНИЕ

Схема запчастей Komatsu PC20-3 - КОВШ И СОЕДИНИТЕЛЬН. ЗВЕНО РАБОЧЕЕ ОБОРУДОВАНИЕ
FIT
1:1
100%

Артикул

Название

Примечание

Количество

1

20R-70-21170

LINK

2

20R-70-21190

LINK

|$2

20R-70-00060

LINK ASS'Y

3

LINK

4

20S-70-11270

BUSHING

5

07145-00035

SEAL,DUST

5

20R-70-00080

BUCKET ASS'Y

6

20R-70-21160

BUCKET

7

20R-70-13160

EDGE (WELDED)

8

20R-70-13120

CUTTER (WELDED)

9

10E-70-22211

TOOTH

10

02090-11055

BOLT

11

10E-70-22220

NUT

12

20R-70-11241

PIN

13

07020-00000

FITTING,GREASE

14

20R-70-11270

SPACER, 1.0MM

15

01010-51285

BOLT

16

01580-01210

NUT

Выбрано товаров: 18