Запчасти Komatsu PC20-3 MODIFIED ЧАСТИ (ДЛЯ PATTERN SELECT) ОПЦИОННЫЕ КОМПОНЕНТЫ

Схема запчастей Komatsu PC20-3 - MODIFIED ЧАСТИ (ДЛЯ PATTERN SELECT) ОПЦИОННЫЕ КОМПОНЕНТЫ
FIT
1:1
100%

Артикул

Название

Примечание

Количество

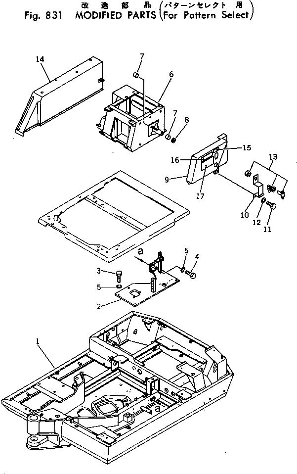
1

20R-46-23111

FRAME

2

20R-43-21111

BRACKET

3

01010-51030

BOLT

4

01010-51020

BOLT

5

01602-21030

WASHER,SPRING

6

20R-54-23111

BOX

7

09350-02220

BUSHING

8

06122-02204

SEAL,BEARING

9

20R-54-23120

COVER

10

20R-54-23130

HINGE

11

01010-51025

BOLT

12

01643-31032

WASHER

13

20R-54-23140

LOCK

14

20R-54-23150

COVER

15

20R-98-24130

PLATE, OPERATING

16

20R-98-24110

PLATE

17

20R-98-24120

PLATE

Выбрано товаров: 0