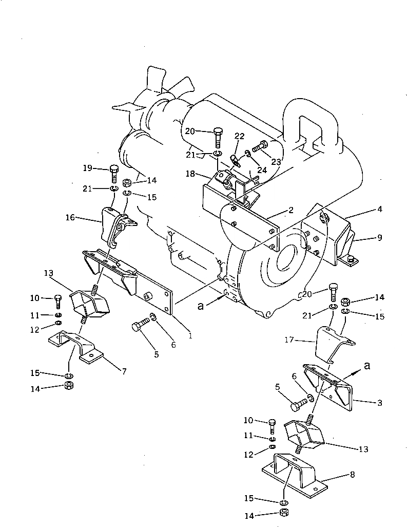
Запчасти Komatsu PC20-5 КРЕПЛЕНИЕ ДВИГАТЕЛЯ КОМПОНЕНТЫ ДВИГАТЕЛЯ И ЭЛЕКТРИКА

Схема запчастей Komatsu PC20-5 - КРЕПЛЕНИЕ ДВИГАТЕЛЯ КОМПОНЕНТЫ ДВИГАТЕЛЯ И ЭЛЕКТРИКА
FIT
1:1
100%

Артикул

Название

Примечание

Количество

1

20R-01-29121

BRACKET

2

20R-01-29310

BRACKET

3

20R-01-29151

BRACKET

4

20R-01-29161

BRACKET

5

01010-51225

BOLT

6

01602-01236

WASHER,SPRING

7

20R-01-29140

BRACKET

8

20R-01-29170

BRACKET

9

20R-01-29180

BRACKET

10

01010-51025

BOLT

11

01602-21030

WASHER,SPRING

12

01643-31032

WASHER

13

20R-01-29111

CUSHION ASS'Y

14

01580-11210

NUT

15

01602-21236

WASHER,SPRING

16

20R-01-29211

BRACKET

17

20R-01-29230

BRACKET

18

20R-01-29222

BRACKET

19

01010-51220

BOLT

20

01010-51225

BOLT

21

01602-21236

WASHER,SPRING

22

08036-11214

CLIP

23

01010-51016

BOLT

24

01602-21030

WASHER,SPRING

Выбрано товаров: 24