Запчасти Komatsu PC20-5 КАБИНА (/) ОСНОВНАЯ РАМА И КАБИНА

Схема запчастей Komatsu PC20-5 - КАБИНА (/) ОСНОВНАЯ РАМА И КАБИНА
FIT
1:1
100%

Артикул

Название

Примечание

Количество

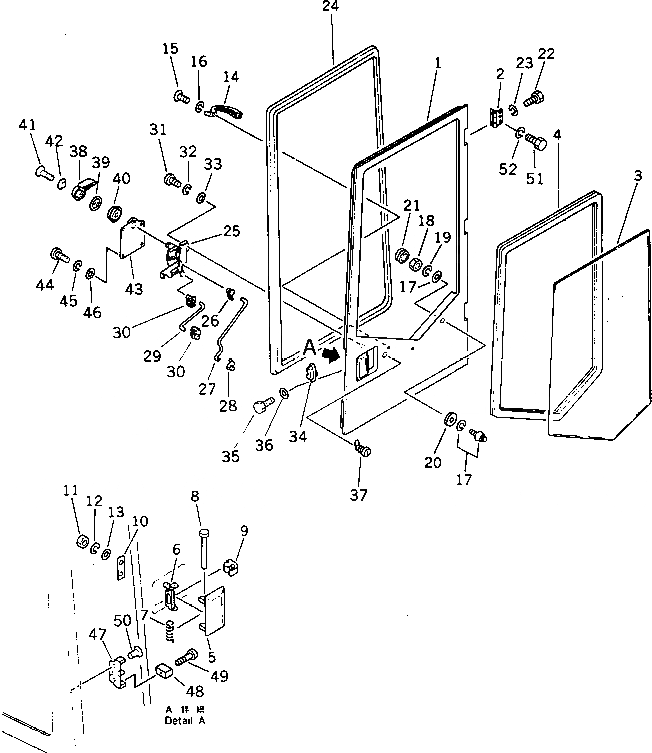
|1

20T-54-00040

OPERATOR'S CAB ASS'Y

|1

20T-54-00050

DOOR ASS'Y

1

20T-54-32210

DOOR

2

20T-54-32220

HINGE

3

20T-54-32350

GLASS

4

20T-54-32450

STRIP,WEATHER

5

20T-54-32250

HANDLE

6

20T-54-32630

BRACKET

7

205-54-72130

SPRING

8

205-54-72140

PIN

9

205-54-72150

CUSHION

10

205-54-72160

PACKING

11

01580-10605

NUT

12

01602-20619

WASHER,SPRING

13

01641-20608

WASHER

14

20N-54-39980

GRIP

15

01220-40512

SCREW

16

01601-20513

WASHER,SPRING

17

20T-54-25351

CATCH

18

01580-10806

NUT

19

01602-20825

WASHER,SPRING

20

20T-54-25450

SPACER

21

09415-02512

CAP

22

01010-31025

BOLT

23

01602-01030

WASHER,SPRING

24

20T-54-32510

SEAL

25

205-54-71811

CONTROL ASS'Y

26

205-54-71840

SNAP

27

20T-54-32260

ROD

28

205-54-71840

SNAP

29

20T-54-32270

ROD

30

205-54-71830

SNAP

31

01220-40610

SCREW

32

01602-20619

WASHER,SPRING

33

01641-20608

WASHER

34

205-54-71710

LOCK ASS'Y

35

01010-50616

BOLT

36

01643-30623

WASHER

37

205-54-71641

LOCK ASS'Y

38

203-54-43320

HANDLE

39

203-54-43330

ESCUTCHEON

40

566-54-24260

BASE

41

01225-40510

SCREW

42

205-54-71880

WASHER

43

20T-54-32230

PLATE

44

01220-40412

SCREW

45

01601-20410

WASHER,SPRING

46

01641-20405

WASHER

47

205-54-71731

STRIKER

48

205-54-71740

STRIKER

49

01220-40420

SCREW

50

203-54-43590

SCREW

51

01010-31025

BOLT

52

01602-01030

WASHER,SPRING

Выбрано товаров: 54