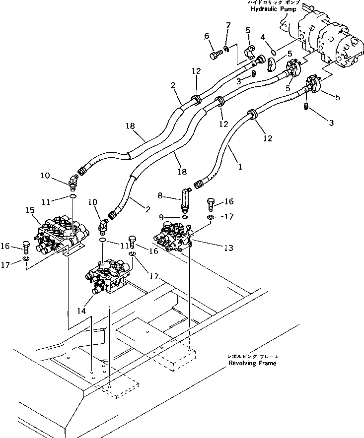
Запчасти Komatsu PC20-5 ГИДРОЛИНИЯ (ИЗ НАСОСА В КЛАПАН) УПРАВЛ-Е РАБОЧИМ ОБОРУДОВАНИЕМ

Схема запчастей Komatsu PC20-5 - ГИДРОЛИНИЯ (ИЗ НАСОСА В КЛАПАН) УПРАВЛ-Е РАБОЧИМ ОБОРУДОВАНИЕМ
FIT
1:1
100%

Артикул

Название

Примечание

Количество

1

20S-62-21220

HOSE

2

20S-62-21210

HOSE

3

07042-20108

PLUG

4

07000-13025

O-RING

5

07371-30638

FLANGE,SPLIT

6

01010-50830

BOLT

7

01602-20825

WASHER,SPRING

8

20R-62-21510

ELBOW

9

07002-12034

O-RING

10

20S-62-21230

ELBOW

11

07002-12434

O-RING

12

08037-03614

GROMMET

|12

08037-05022

GROMMET,(FOR ROPS CAB¤ ROPS CANOPY)

13

709-32-11600

VALVE ASS'Y

14

709-22-11300

VALVE ASS'Y

15

709-24-11600

VALVE ASS'Y

16

01010-50825

BOLT

17

01602-20825

WASHER,SPRING

18

203-62-32440

COVER

Выбрано товаров: 19