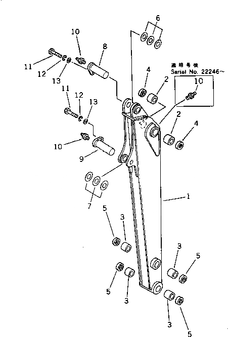
Запчасти Komatsu PC20-5 РУКОЯТЬ РАБОЧЕЕ ОБОРУДОВАНИЕ

Схема запчастей Komatsu PC20-5 - РУКОЯТЬ РАБОЧЕЕ ОБОРУДОВАНИЕ
FIT
1:1
100%

Артикул

Название

Примечание

Количество

|$0

20R-70-00111

ARM ASS'Y

|$1

20R-70-00110

ARM ASS'Y

1

ARM

1

ARM

2

20S-70-21230

BUSHING

2

20S-70-11260

BUSHING

3

20S-70-11270

BUSHING

4

07145-00040

SEAL,DUST

5

07145-00035

SEAL,DUST

6

20R-70-11260

SPACER, 1.0MM

7

20R-70-11270

SPACER, 1.0MM

8

20R-70-11171

PIN

9

20R-70-11212

PIN

10

07020-00000

FITTING,GREASE

10

07020-00000

FITTING,GREASE

11

01010-51230

BOLT

12

01602-21236

WASHER,SPRING

13

01643-31232

WASHER

Выбрано товаров: 18