Запчасти Komatsu PC20-5 КОВШ И СОЕДИНИТЕЛЬН. ЗВЕНО РАБОЧЕЕ ОБОРУДОВАНИЕ

Схема запчастей Komatsu PC20-5 - КОВШ И СОЕДИНИТЕЛЬН. ЗВЕНО РАБОЧЕЕ ОБОРУДОВАНИЕ
FIT
1:1
100%

Артикул

Название

Примечание

Количество

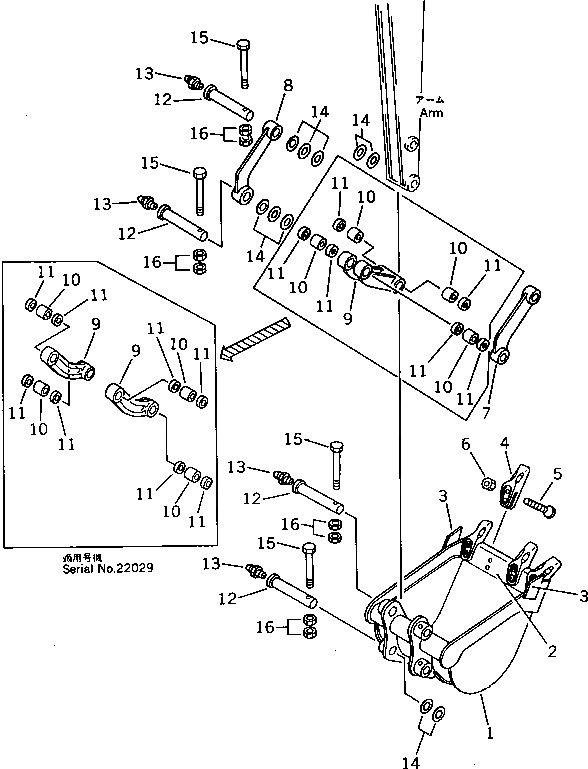
|$0

20R-70-00141

BUCKET ASS'Y

|$1

20R-70-00140

BUCKET ASS'Y

1

BUCKET

1

BUCKET

2

20R-70-31360

LIP (WELDED)

2

20R-70-13160

EDGE (WELDED)

3

20R-70-13120

CUTTER,SIDE (WELDED)

4

10E-70-22211

TOOTH

5

02090-11055

BOLT

6

09218-11614

NUT

7

20R-70-31530

LINK

7

20R-70-21170

LINK

8

20R-70-31540

LINK

8

20R-70-21190

LINK

|$14

20R-70-00270

LINK ASS'Y,L.H.

|$15

20R-70-00280

LINK ASS'Y,R.H.

|$16

20R-70-00060

LINK ASS'Y

9

LINK,L.H.

9

LINK,R.H.

9

LINK

10

20S-70-11270

BUSHING

10

20S-70-11270

BUSHING

11

07145-00035

SEAL,DUST

11

07145-00035

SEAL,DUST

12

20R-70-11241

PIN

13

07020-00000

FITTING,GREASE

14

20R-70-11270

SPACER, 1.0MM

15

01010-51285

BOLT

16

01580-11210

NUT

Выбрано товаров: 29