Запчасти Komatsu PC20-5 ОТВАЛ (КРОМЕ ЯПОН.) РАБОЧЕЕ ОБОРУДОВАНИЕ

Схема запчастей Komatsu PC20-5 - ОТВАЛ (КРОМЕ ЯПОН.) РАБОЧЕЕ ОБОРУДОВАНИЕ
FIT
1:1
100%

Артикул

Название

Примечание

Количество

|$0

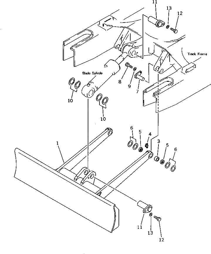
20R-71-00050

BLADE ASS'Y

1

BLADE ASS'Y

3

07144-10304

BUSHING

4

07020-00675

FITTING,GREASE

5

07145-00035

SEAL,DUST

6

20R-70-11270

SPACER, 1.0MM

6

20S-71-11250

SPACER, 2.3MM

7

20S-71-11220

PIN

8

01010-51225

BOLT

9

01643-31232

WASHER

10

20S-71-11230

SHIM, 1.0MM

10

20S-71-11240

SPACER, 2.3MM

11

20S-71-11210

PIN

12

01010-51225

BOLT

13

01643-31232

WASHER

Выбрано товаров: 15